Процесс переработки нефти
Переработка нефти начинается с перегонки или фракционирования сырой нефти в отдельные углеводородные группы. Полученные в результате продукты непосредственно связаны с характеристиками обрабатываемой сырой нефти. Большая часть этих продуктов перегонки далее преобразуются в более полезные продукты путем изменения их физических свойств и структур молекул под действием крекинга, риформинга и других процессов преобразования. Эти продукты последовательно подвергаются различным процессам очистки и разделения, таким как извлечение, гидроочистка и очистка от активной серы, с целью образования конечных продуктов. В то время как самые простые операции по нефтепереработке обычно ограничиваются атмосферной и вакуумной перегонкой, большие нефтеперерабатывающие заводы осуществляют фракционирование, преобразование, обработку и смешивание со смазочным материалом, производство тяжелого топлива и асфальта; они могут также производить обработку нефтепродуктов.
Первый нефтеперерабатывающий завод, который открылся в 1861, производил керосин путем простой атмосферной перегонки. Побочными продуктами были гудрон и нафта (сырая нефть). Вскоре было обнаружено, что высококачественные смазочные материалы могут быть произведены путем перегонки нефти в вакууме. Однако, на протяжении следующих 30 лет керосин был тем продуктом, который потребители хотели иметь больше всего. Два наиболее значимых события, которые изменили данную ситуацию, были:
Изобретение электрического света, который уменьшил спрос на керосин
Изобретение двигателя внутреннего сгорания, который создал спрос на дизельное топливо и бензин (нафта).
С появлением массового производства и Первой мировой войны резко увеличилось число транспортных средств, использующих бензин, и спрос на бензин соответственно вырос. Однако, только определенное количество бензина могло быть получено из сырой нефти с помощью процессов атмосферной и вакуумной перегонки. Первый процесс термического крекинга был разработан в 1913 году. Термический крекинг подвергал тяжелые топлива действию давления и чрезмерного тепла, разделяя физически его большие молекулы на меньшие по размеру, производя дополнительный бензин и дистиллятные топлива. Сложная форма термического крекинга, легкого крекинга, была разработана в конце 1930-ых с целью получения более желанных и ценных продуктов.
Когда были разработаны бензиновые двигатели с более высоким сжатием, появился спрос на бензин с более высоким октановым числом, имеющий лучшие антидетонационные характеристики. Внедрение процессов каталитического крекинга и полимеризации в середине-конце 1930-х удовлетворило этот спрос путем обеспечения повышенного выхода бензина с более высокими октановыми числами. Алкилирование, другой каталитический процесс, был разработан в начале 1940-ых для производства авиационного бензина с более высоким октановым числом и использование исходного сырья нефтепродуктов, начальных материалов для взрывчатых веществ и синтетического каучука. Впоследствии был разработан процесс каталитической изомеризации, преобразующий углеводороды с целью производства повышенных количеств исходного сырья для алкилирования.
После Второй мировой войны были внедрены различные процессы реформинга, которые улучшили качество и выпуск бензина, и произвели продукты более высокого качества. Некоторые из них использовали катализаторы и водород с целью изменения молекул и удаления серы. Улучшенные катализаторы и технологические методы, такие как гидрокрекинг и реформинг, создавались на протяжении 1960-ых с целью увеличения выпуска бензина и улучшения его антидетонационных характеристик. В каталитические процессы также производили молекулы с двойной связью (алкены), формируя основы современной нефтехимической промышленности.
Число и типы различных процессов, используемых на современных нефтеперерабатывающих заводах, зависят, прежде всего, от природы исходного сырья сырой нефти и требований к конечному продукту. На процессы также оказывают влияние экономические факторы, включая стоимость сырой нефти, стоимости продуктов, наличие коммунальных услуг и транспорта. Хронология внедрения различных процессов дается в Таблице 1.
Таблица 1 Резюме истории процесса переработки нефти
| Год | Название процесса | Цель процесса | Побочные продукты процесса |
| 862 | Атмосферная перегонка | Производство керосина | Нафта, мазут и т.д. |
| 1870 | Вакуумная перегонка | Смазочные материалы (первоначальные) Исходное сырье для крекинга (1930-ые) | Гудрон, остаток Исходное сырье для установки коксования |
| 1913 | Термический крекинг | Увеличение бензина | Остаток, бункерное топливо |
| 1916 | Очистка от активной серы | Уменьшение серы и запаха | Сера |
| 1930 | Термический реформинг | Повышение октанового числа | Остаток |
| 1932 | Гидрирование | Удаление серы | Сера |
| 1932 | Коксование | Производство базовых компонент бензина | Кокс |
| 1933 | Извлечение растворителем | Улучшение коэффициента вязкости смазочного материала | Ароматсоединения |
| 1935 | Депарафинизация растворителем | Улучшение температуры текучести | Парафины |
| 1935 | Каталитическая полимеризация | Повышение выхода бензина и октанового числа | Исходное сырье для нефтепродуктов |
| 1937 | Каталитический крекинг | Бензин с более высоким октановым числом | Исходное сырье для нефтепродуктов |
| 1939 | Легкий крекинг | Уменьшение вязкости мазута | Увеличенный дистиллят, гудрон |
| 1940 | Алкилирование | Увеличение октанового числа и выхода бензина | Исходное сырье для нефтепродуктов |
| 1940 | Изомеризация | Производство исходного сырья для алкилирования | Нафта |
| 1942 | Крекинг с флюидизированным катализатором | Увеличения выхода бензина и октанового числа | Исходное сырье для нефтепродуктов |
| 1950 | Деасфальтизация | Улучшение качества моторных масел | Асфальт |
| 1952 | Каталитический реформинг | Преобразование низкокачественной нафты | Ароматсоединения |
| 1954 | Гидродесульфурация | Удаление серы | Сера |
| 1975 | Гидрокрекинг остатков | Увеличение выхода бензина из остатка | Тяжелые остатки |
| 1956 | Очистка от активной серы ингибитором | Удаление меркаптана | Дисульфиды |
| 1957 | Каталитическая изомеризация | Преобразование в молекулы с высоким октановым числом | Исходное сырье для алкилирования |
| 1960 | Гидрокрекинг | Улучшение качества и уменьшение серы | Исходное сырье для алкилирования |
| 1974 | Каталитическая депарафинизация | Улучшение температуры текучести | Воск |
Основные процессы и операции нефтепереработки
Процессы и операции по переработке нефти можно классифицировать на следующие основные области: разделение, преобразование, обработка, компоудирование, вспомогательные операции нефтепереработки и нетехнологические операции нефтепереработки. См. упрощенную блок схему на Рис. 78.1.Рис. 78.1 Блок схема процесса переработки.
Рис. 1 Блок схема процесса переработки

Разделение. Сырая нефть физически разделяется путем фракционирования в колонах атмосферной и вакуумной перегонки на группы углеводородных молекул с различными диапазонами температур кипения, называемыми “фракциями”.
Преобразование. Процессы преобразования, используемые для изменения размера и/или структуры углеводородных молекул включают:
- Разложение (разделение) путем гидрокрекинга, термического или каталитического крекинга, коксования и легкого крекинга
- Унификация (объединение) через алкилирование и полимеризацию
- Изменение (перегруппирование) с помощью изомеризации и каталитического риформинга
- Обработка.
На начальном этапе нефтепереработки использовались различные методы обработки для удаления неуглеводородов, примесей и других составляющих, которые неблагоприятно влияют на функциональные свойства конечных продуктов или уменьшают эффективность процессов преобразования. Методы обработки включают как химические реакции, так и физическое разделение, такие как растворение, поглощение или осаждение, используя многообразие процессов и их сочетание. Методы обработки включают удаление или разделение ароматсоединений и нафтенов, а также удаление примесей и нежелательных загрязнителей. Очистка от активной серы соединений и кислот используется для десульфурации сырой нефти перед получением и для обработки продуктов в ходе и после процесса изготовления. Другие методы обработки включают обессоливание сырой нефти, химическую очистку от активной серы, обработку кислотой, контактную очистку глиной, гидросульфурацию, очистку растворителем, щелочную мойку, гидрообработку, сушку, экстракцию растворителем и депарафинизацию растворителем.
Компоудирование — процесс смешивания и объединения углеводородных фракций, добавок и других компонент с целью создания конечных продуктов с определенными заданными рабочими свойствами.
Вспомогательные операции нефтепереработки. Другие операции нефтепереработки, которые требуются для поддержания производства углеводородов, включают восстановление легких фракций нефти; извлечение кислых компонент из воды; обработку и охлаждение твердых отходов, сточных вод и технической воды; производство водорода; восстановление серы; и обработку кислот и остаточного газа. На отдельных установках производят катализаторы, реагенты, пар, воздух, азот, кислород, водородные и топливные газы.
Нетехнологические средства нефтепереработки. Все нефтеперерабатывающие заводы имеют множество помещений, функций, оборудования и систем, которые поддерживают технологические операции с углеводородами. Типичные операции поддержки — генерирование тепла и энергии; перемещение продукта; хранение в резервуарах; отгрузка и обработка; факельных систем сжигания и сброса давления; печи и нагреватели; устройства управления и сигнализации, датчики, отбор проб, испытания и инспектирование. Нетехнологические средства и системы поддержки включают средства тушение пожаров, системы охлаждающей воды и взрывозащиты, приборы контроля шума и загрязнения окружающей среды, лаборатории, диспетчерские, склады, средства технического обслуживания и административные помещения, а также подъездные пути и эстакады.
Основные продукты очистки сырой нефти
Происходило непрерывное развитие процессов переработки нефти в ответ на изменяющийся потребительский спрос и стремление иметь лучшие и разнообразные продукты. Первоначальное требование к процессу нефтепереработки состояло в производстве керосина, как более дешевого и лучшего продукта для освещения, нежели масло кита. Появление двигателя внутреннего сгорания привело к производству бензина и дизельного топлива. Развитие авиации создало потребность в высокооктановом авиационном бензине и топливе для реактивных двигателей, которые являются сложной формой первоначального продукта нефтепереработки — керосина. Современные нефтеперерабатывающие заводы производят множество продуктов, включая те, которые используются как исходные сырье для процессов крекинга, производства смазочных материалов и нефтехимической промышленности. Эти продукты могут быть широко классифицированы как топливо, исходное сырье для производства других нефтепродуктов, растворители, технологические масла, смазочные материалы и специальные продукты, такие как воск, асфальт и кокс. (См. Таблицу 2).
Таблица 2 Основные продукты переработки сырой нефти
| Газообразные углеводороды | Использования |
| Сжиженные газы | Промышленный и бытовой газ Газ моторного топлива Газ для освещения Аммиак Синтетическое удобрение Спирты Растворители и ацетон Пластификаторы Смолы и волокна для пластмасс и текстиля Краски и лак |
| Исходное сырье для химической промышленности | Резиновые изделия |
| Сажа | Печатные краски Резиновая отрасль |
| Легкие дистилляты | |
| Легкая сырая нефть (нафта) | Олефины Растворители и разбавители Растворители для извлечения Исходные сырье для химической отрасли |
| Промежуточная сырая нефть (нафта) | Авиационный и автомобильный бензин Растворители для химчистки |
| Тяжелая сырая нефть (нафта) | Топливо для военной техники Топливо для реактивных двигателей и керосин Топливо для трактора |
| Газойль | Базовые компоненты для крекинга Масло для обогрева и дизельное топливо Металлургическое топливо Поглотительное масло — восстановление бензола и бензина |
| Тяжелые дистилляты | |
| Технические масла | Текстильные масла Лекарственные масла и косметика Белое масло — пищевая промышленность |
| Смазочные материалы | Трансформаторные и шпиндельные масла Масла для двигателя и моторные масла Масла для машин и компрессоров Масла для турбин и гидравлических систем Трансмиссионные масла Масла для оборудования и изоляционного кабеля Масла для осей, шестерен и паровые моторные масла Масла для обработки металла, резки и шлифовки Масла для тушения и ингибитора коррозии Масла для теплопередачи Консистентные смазки и составы Масла для печатной краски |
| Парафиновый воск | Резиновая отрасль Фармацевтическая отрасль и косметика Пищевая и бумажная отрасли Свечи и спички |
| Остатки | |
| Петролатум | Вазелин Косметика Ингибиторы коррозии и смазочные материалы Составы для покрытия кабеля |
| Остаточный мазут | Котел No. 6 и технический мазут |
| Асфальт | Асфальт для мощения Кровельные материалы Асфальтобетонные смазочные материалы Изолирующая защита и защита основания Продукты из водостойкой бумаги |
| Побочные продукты нефтепереработки | |
| Кокс | Электроды и топливо |
| Сульфонаты | Эмульгаторы |
| Серная кислота | Синтетическое удобрение |
| Сера | Химикаты |
| Водород | Реформирование углеводородов |
Ряд химических веществ используется или получается в результате производства углеводородов. Краткое описание тех веществ, которые являются характерными и относящимися к нефтепереработке, следует ниже:
Сернистый газ
Топочный (дымовой) газ от сгорания топлив с высоким содержанием серы обычно содержит большое количество сернистого газа, который обычно удаляется с помощью водной промывки в скрубберах.
Щелочи
Щелочи добавляются к обессоливающей воде для нейтрализации кислот и уменьшения коррозии. Щелочи также добавляются к обессоленной сырой нефти с целью уменьшения количества коррозионных хлоридов в верхней части ректификационных колонн. Они используются в процессах нефтепереработки для устранения загрязнителей из углеводородных потоков.
Окислы азота и угарный газ
Топочный газ содержит до 200 окиси азота, которая медленно реагирует с кислородом с образованием двуокиси азота. Окись азота не удаляется водной промывкой в скрубберах, а двуокись азота может раствориться в воде, образуя азотную и азотистую кислоты. Топочный газ обычно содержит только небольшое количество угарного газа, если горение являются нормальным.
Сероводород
Сероводород обычно присутствует в большей части сырой нефти, и он также образуется во время производства путем разложения нестабильных сернистых соединений. Сероводород — чрезвычайно ядовитый, бесцветный, воспламеняющийся газ, который является более тяжелым, чем воздух, и растворяется в воде. Он имеет запах тухлого яйца, который различим при концентрациях, которые значительно ниже его предела воздействия. На этот запах нельзя полагаться при обеспечении адекватного предупреждения, так как при воздействии запахи почти немедленно десенсибилизируются. Требуются специальные газоанализаторы и газосигнализаторы для предупреждения рабочих о присутствии сероводорода, а при наличии этого газа должна применяться хорошая защита органов дыхания. Воздействие малых концентраций сероводорода вызывает раздражение, головокружение и головные боли, в то время как воздействие сероводорода в концентрациях, превышающих допустимые пределы, вызывает депрессию нервной системы и, в конечном итоге, смерть.
Сернистая вода
Сернистая вода — техническая вода, которая содержит сероводород, аммиак, фенолы, углеводороды и сернистые соединения с низким молекулярным весом. Сернистая вода получается при отгонке низкокипящих фракций углеводорода с помощью острого водяного пара (отпариванием) во время перегонки, регенерации катализатора или отпаривании сероводорода во время гидрообработки и гидроочистки. Сернистая вода также образуется при промывке водой нефтепродуктов с целью поглощения сероводорода и аммиака.
Серная кислота и фтористоводородная кислота
Серная кислота и фтористоводородная кислота используются как катализаторы в процессах алкилирования. Серная кислота также используется в некоторых процессах обработки.
Твердые катализаторы
Ряд различных твердых катализаторов во многих видах и формах, от гранул до зернистых шариков и пыли, полученных из различных материалов и имеющих различные составы, используется в процессах переработки нефти. Измельченные гранулированные катализаторы используются в установке с движущимся и фиксированным катализатором, в то время как процессы с псевдосжиженным слоем используют катализаторы в виде мелких, сферических частиц. Катализаторы, используемые в процессах, которые удаляют серу, пропитаны кобальтом, никелем или молибденом. Крекинг-установки используют катализаторы с кислотной функцией, такие как природная глина, алюминосиликатные и синтетические цеолиты. Катализаторы с кислотной функцией, пропитанные платиной или другими благородными металлами, используются при изомеризации и реформинге. Используемые катализаторы требуют специальной обработки и защиты от воздействий, так как они могут содержать металлы, ароматические масла, канцерогенные полициклические ароматические соединения или другие опасные материалы, и могут также быть самовоспламеняющимися.
Топлива
Основные топливные продукты — сжиженный нефтяной газ, бензин, керосин, топливо для реактивных двигателей, дизельное топливо, печное топливо и остаточные мазуты.
Сжиженный нефтяной газ, который состоит из смесей парафиновых и олефиновых углеводородов, таких как пропан и бутан, производится для использования в качестве топлива и храниться и обрабатывается как жидкость под давлением. Сжиженный нефтяной газ имеет температуры кипения в диапазоне от приблизительно -74° C до + 38°C, бесцветен, и его пары более тяжелые, чем воздух, и чрезвычайно воспламеняющиеся. Важные качества сжиженных нефтяных газов с точки зрения здоровья и гигиены труда и безопасности — давление газа и контроль за загрязнителями.
Бензин. Наиболее важный продукт нефтепереработки — автомобильный бензин, смесь относительно низкокипящих углеводородных фракций, включая продукт реформинга, алкилат, алифатическую нафту (легкая нефть прямого погона), ароматическую нафту (термически и каталитически крекированная нафта) и добавки. Базовые компоненты для смешивания с бензином имеют температуры кипения в диапазоне от температур окружающего воздуха до приблизительно 204°C, а температуры вспышки ниже -40°C. Важные качества бензина — октановое (антидетонационное) число, летучесть (запуск и детонация паров) и давление паров (контроль за окружающей средой). Добавки используются для улучшения характеристик бензина и обеспечения защиты от окисления и образования ржавчины. Авиационный бензин — высокооктановый продукт, специально приготовленный для хорошей работы на больших высотах.
Тетраэтилсвинец и тетраметилсвинец — бензиновые добавки, которые улучшают октановое число и антидетонационные характеристики. Стремясь уменьшить количество свинца при автомобильных выбросах отработавших газов, эти добавки больше не используют в обычных применениях, за исключением авиационного бензина.
Этилтерциарибутилэфир, метилтерциарибутилэфир, терциариамилметилэфир и другие окисляющиеся соединения используются вместо тетраэтилсвинца и тетраметилсвинца с целью улучшения антидетонационных характеристик неэтилированного бензина и уменьшения вредных выбросов.
Топливо для реактивных двигателей и керосин. Керосин — смесь парафинов и нафтенов обычно менее с 20% ароматсоединений. Он имеет температуру вспышки выше 38°C, диапазон кипения от 160° C до 288° C и используется для освещения, обогрева, растворителей и смешивания с дизельным топливом. Топливо для реактивных двигателей — керосин средней стадии перегонки, чьими важными качествами являются температура замерзания, температура вспышки и максимальная высота некоптящего пламени. Топливо для коммерческих реактивных двигателей имеет диапазон кипения приблизительно от 191° C до 274° C, а топливо для военных реактивных двигателей от 55°C до 288°C.
Дистиллятные топлива. Дизельные топлива и местные печные топлива — светлоокрашенные смеси парафинов, нафтенов и ароматсоединений и могут содержать умеренные количества олефинов. Дистиллятные топлива имеют температуры вспышки выше 60° C и диапазоны кипения приблизительно от 163° C до 371° C, и часто гидросульфурированы с целью повышения устойчивости. Дистиллятные топлива являются горючими и при нагревании могут образовывать пары, которые могут формировать воспламеняющиеся в воздухе смеси. Желаемые качества, которые необходимы для дистиллятных топлив, включают контролируемые температуры вспышки и текучести, чистое горение, отсутствие образования отложений в резервуарах хранения, и хорошее цетановое число дизельного топлива для хорошего запуска и горения.
Остаточные топлива. Многие морские суда, коммерческие и промышленные помещения используют остаточные топлива или комбинации остаточного топлива и дистиллятного топлива в качестве топлива для систем обогрева и при изготовлении продукции. Остаточные топлива имеют темный цвет, являются высоковязкими, жидкими смесями больших углеводородных молекул с температурами вспышки выше 121° C, с высокими температурами кипения и сравнительно низкой температурой самовозгорания на воздухе, что создает его повышенную взрыво-пожароопасность. Важными характеристиками остаточных топлив являются вязкость и низкое содержание серы (с точки зрения контроля над окружающей средой).
Соображения по поводу здоровья и безопасности
Основная опасность сжиженного нефтяного газа и бензина — взрывопожароопасность. Высокая летучесть и высокая воспламеняемость продуктов с низкой температурой кипения позволяет парам легко испаряться в воздух и образовывать воспламеняющиеся смеси, которые могут легко взрываться и загораться в присутствии искры или огня. Это — признанная опасность, которая требует соблюдения специальных мер предосторожности при хранении, содержании и обработке, и мер безопасности для обеспечения контроля над выбросами паров и источниками возгорания во избежание пожаров. С менее летучими топливами, такими как керосин и дизельное топливо, следует обращаться осторожно с целью предотвращения утечек и возможного возгорания, поскольку их пары также являются горючими, когда смешиваются с воздухом в диапазоне температур воспламенения. При работе в атмосферах, содержащих топливные пары, с целью уменьшения рисков возгорания высоко летучих, воспламеняющихся паров продуктов в воздухе часто ограничиваются концентрациями, не превышающими 10 % нижнего концентрационного предела воспламенения, а в случае менее летучих, горючих паров продуктов, — не выше 20 % нижнего концентрационного предела воспламенения, в зависимости от требований компании и правительственных норм.
Хотя для целей безопасности уровни концентрации паров бензина в воздушных смесях обычно поддерживаются ниже 10 % нижнего предела воспламенения, эта концентрация значительно превышает пределы воздействия, которые должны соблюдаться для сохранения здоровья людей. При вдыхании небольших количеств паров бензина из воздуха, которые значительно ниже нижнего предела воспламенения, может появиться раздражение, головные боли и головокружение, в то время как вдыхание больших концентраций может вызвать потерю сознания и, в конечном счете, смерть. Также могут быть возможны тяжелые последствия для здоровья людей в случае длительного вдыхания паров бензина. Например, бензин содержит бензол, известное канцерогенное вещество, которое имеет допустимый предел вредного воздействия в несколько частей на миллион. Следовательно, даже работа в атмосфере паров бензина при уровнях концентраций ниже 10 % от нижнего предела воспламенения требует применения соответствующих мер предосторожности в области гигиены труда, таких как защита органов дыхания или применение местной вытяжной вентиляции.
В прошлом, многие бензины содержали тетраэтил- или тетраметилалкил- свинцовые антидетонационные добавки, которые являются ядовитыми и представляют серьезные опасности поглощения свинца при контакте с кожей человека или при вдыхании. Резервуары или сосуды, которые содержали этилированный бензин в любой момент во время их использования, должны быть проветрены, тщательно очищены, проверены с помощью специального контрольного прибора “свинец в воздухе” и сертифицированы на предмет отсутствия свинца, чтобы позволить рабочим войти в них без автономных или других средств вдыхания воздуха, даже если концентрация кислорода является нормальной и теперь резервуары содержат неэтилированный бензин или другие продукты.
Газообразные нефтяные фракции и более летучие топливные продукты оказывают умеренный, болеутоляющий эффект, обычно обратно пропорциональный молекулярному весу. Жидкие топлива с низкой температурой кипения, такие как бензин и керосин, при вдыхании приводят к серьезному химическому пневмониту, и не должны вдыхаться ртом или быть случайно приняты внутрь. Газы и пары могут также иметь достаточно высокие концентрации, заменяя кислород (в воздухе) при уровнях дыхания ниже нормального. Поддержание концентраций паров ниже пределов воздействия и уровней кислорода в нормальных диапазонах дыхания обычно осуществляется путем очистки или вентиляции.
Крекированные дистилляты содержат небольшие количества канцерогенных полициклических ароматических углеводородов; следовательно, их воздействие на человека должно быть ограничено. В результате воздействия бензина, керосина и дистиллятных топлив может также развиться дерматит, так как они имеют тенденцию обезжиривать кожу. Предотвращение развития дерматита осуществляется с помощью применения индивидуальных средств защиты, защитных кремов или уменьшения контакта и путем соблюдения таких мер гигиены, как мытье теплой водой и мылом вместо очистки рук бензином, керосином или растворителями. У некоторых людей кожа чувствительна к красителям, используемым для окраски бензина, и к другим дистиллятным продуктам.
Остаточные мазуты содержат следы металлов и возможно сероводород, который является чрезвычайно ядовитым. Остаточные топлива, которые имеют высоко крекированные базовые компоненты, кипящие выше 370°C, содержат канцерогенные полициклические ароматические углеводороды. Следует избегать повторяющихся воздействий остаточных топлив без использования соответствующей персональной защиты, особенно при открытии резервуаров и сосудов, так как при этом может выделяться сероводородный газ.
Исходное сырье нефтепродуктов
Многие продукты, полученные в результате очистки сырой нефти, такие как этилен, пропилен и бутадиен, являются олефиновыми углеводородами, полученными в результате процессов крекинга на нефтеперерабатывающем заводе, и предназначены для использования в нефтехимической промышленности в качестве исходного сырья для производства пластмассы, аммиака, синтетического каучука, гликоля и так далее.
Нефтяные растворители
Множество чистых соединений, включая бензол, толуол, ксилол, гексан и гептан, чьи температуры кипения и углеводородный состав тщательно контролируются, производятся для использования в качестве растворителей. Растворители могут быть классифицированы как ароматические или неароматические, в зависимости от их состава. Их использование в качестве разбавителей краски, жидкостей для химчистки, обезжиривающих средств, промышленных и пестицидных растворителей и так далее, обычно определяется их температурами вспышки, которые изменяются от температур значительно ниже -18° C до вышеупомянутых 60° C.
Опасности, связанные с растворителями, подобны опасностям топлив в том, что растворители с более низкой температурой вспышки являются воспламеняющимися, а их пары, при смешивании с воздухом в диапазоне температур воспламенения, являются возгораемыми и взрывоопасными. Ароматические растворители обычно более токсичные, чем неароматические растворители.
Технические масла
Технические масла включают потоки дистиллятов прямого погона с высоким диапазоном кипения, полученные в результате атмосферной или вакуумной перегонки, и те, которые производятся путем каталитического или термического крекинга. Эти сложные смеси, которые содержат большие парафиновые, нафтеновые и ароматические углеводородные молекулы с более 15 атомами углерода, используются как исходное сырье для крекинга или производства смазочного материала. Технические масла имеют довольно высокую вязкость, температуры кипения в пределах от 260° C до 538°C и температуры вспышки выше 121°C.
Технические масла раздражают кожу и содержат высокие концентрации полициклических ароматических углеводородов, а также соединения серы, азота и кислорода. Вдыхания паров и туманов нужно избегать, а воздействие на кожу следует контролировать путем использования персональной защиты и соблюдения мер гигиены.
Смазочные материалы и смазки
Базовые компоненты смазочных материалов производятся с помощью специальных процессов переработки нефти с целью удовлетворения конкретных требований потребителя. Смазочные базовые компоненты — светло- и средне-окрашенные, тяжелые, средне- и высоковязкие смеси парафиновых, нафтеновых и ароматических масел с диапазонами кипения от 371° C до 538° C. Добавки, такие как деэмульгаторы, антиокислители и добавки для улучшения вязкости, смешиваются с базовыми компонентами смазочных материалов для обеспечения характеристик, требуемых для моторных масел, турбинных и гидравлических масел, промышленных смазок, смазочных материалов, масел для шестерен и эмульсий для охлаждения и смазки режущих инструментов. Наиболее важное качество базовых компонент смазочных материалов — высокий коэффициент вязкости, предусматривающий меньшее изменение вязкости при изменении температур. Эта характеристика может присутствовать в базовых компонентах сырой нефти или достигается путем использования добавок для улучшения коэффициента вязкости. Детергенты добавляются для поддержания во взвешенном состоянии любого осадка, сформированного во время использования масла.
Смазки — это смеси смазочных масел и металлического мыла с добавлением специальных материалов, таких как асбест, графит, молибден, силикон и тальк, с целью обеспечения изоляции или смазывающей способности. Эмульсии для охлаждения и смазки режущих инструментов и масла для обработки металлов являются смазочными маслами со специальными добавками, такими как хлор, сера, и жирно-кислотные добавки, которые вступают в реакцию под действием тепла с целью обеспечения смазки и защиты для режущих инструментов. Эмульгаторы и агенты защиты от бактерий добавляются к растворимым в воде эмульсиям для смазки режущих инструментов.
Хотя смазочные масла сами по себе не являются раздражающими и имеют небольшую токсичность, опасности могут возникнуть из-за добавок. Пользователи должны ознакомиться с информацией, содержащейся в перечнях поставщика о данных безопасности материалов с целью определения опасностей конкретных добавок, смазочных материалов, эмульсий для охлаждения и смазки режущих инструментов. Главная опасность смазочного материала — дерматиты, которые можно обычно контролировать с помощью индивидуальных средств защиты и соблюдения мер гигиены. Иногда у рабочих может возникнуть чувствительность к эмульсиям для охлаждения и смазки режущих инструментов или к смазочным материалам, которая потребует перевода рабочего в то место, где такой контакт невозможен. Возникает тревога по поводу канцерогенного воздействия туманов, возникающих из-за применения смазок для режущих инструментов на основе нафтенов и легких шпиндельных масел, которые можно контролировать с помощью технических контрольных приборов, их замены на другие материалы или персональной защиты. Опасности воздействия смазок подобны опасностям воздействия смазочных материалов плюс любые опасности добавок. Большинство этих опасностей обсуждается в других местах этой Энциклопедии.
Специальные продукты
Парафин используется для защиты продовольственных продуктов; в покрытиях; как ингредиент в других продуктах, таких как косметика и гуталин для обуви и для свеч.
Сера образуется в результате переработки нефти. Она храниться либо как нагретая, расплавленная жидкость в закрытых резервуарах или как твердое тело в контейнерах или на открытом воздухе.
Кокс — почти чистый углерод, имеющий множество применений — от электродов до брикетов активированного угля — в зависимости от его физических свойств, которые определяются процессом коксования.
Асфальт, который, прежде всего, используется для мощения дорог и как кровельный материал, должен быть инертным к большинству химических веществ и к погодным условиям.
Парафины и асфальт являются твердыми при температурах окружающего воздуха. Более высокие температуры необходимы для их хранения в расплавленном виде, при обращении с ними и при их транспортировке, причем при этом возникает опасность получения ожогов. Нефтяной парафин так хорошо очищен, что он обычно не представляет никакой опасности. Контакт кожи с парафином может привести к закупорке пор, что можно контролировать путем соблюдения должных мер гигиены. Воздействие сероводорода при открытых резервуарах с асфальтом и расплавленной серой можно контролировать путем использования соответствующих технических мер контроля или с помощью защиты органов дыхания. Сера также легко воспламеняется при повышенных температурах. Асфальт рассматривается в другом месте в Энциклопедии.
Процессы переработки нефти
Производство нефтепродуктов — это использование химических веществ, катализаторов, тепла и давления для разделения и объединения основных типов углеводородных молекул, обычно присутствующих в сырой нефти, в группы подобных молекул. Процесс очистки также реорганизует структуры и модели сцепления основных молекул в различные, более желанные углеводородные молекулы и соединения. Тип углеводорода (парафиновый, нафтеновый или ароматический), а не определенные присутствующие химические соединения и добавки, является самым важным фактором в процессе переработки нефти.
В процессе нефтепереработки в случае пожара, химических воздействий, воздействий в форме частиц, воздействий тепла и шума и во время технологических операций, взятия проб, осмотров, циклов опорожнения — закачивания — отбора и действий по техническому обслуживанию необходимо выполнять рабочие процедуры, действия по обеспечению безопасности и использовать соответствующую персональную защитную одежду и средства, включая одобренные средства защиты органов дыхания. Так как большинство процессов нефтепереработки являются непрерывными, а технологические потоки движутся в закрытых сосудах по трубопроводам, имеется весьма ограниченная потенциальная возможность воздействия на них. Однако, потенциальная возможность возникновения пожара существует потому, что хотя операции по нефтепереработке являются закрытыми процессами, не исключается возможность аварийной утечки или выброса углеводородной жидкости, паров или газа и попадание их на нагреватели, печи, и теплообменники, что может явиться источниками возгорания.
Предварительная обработка сырой нефти
Обессоливание
Сырая нефть часто содержит водные, неорганические соли, взвешенные твердые вещества и растворимые в воде ничтожные количества металлов. Первый этап процесса нефтепереработки — устранить эти загрязнители путем обессоливания (обезвоживания) с целью уменьшения коррозии, закупоривания и загрязнения оборудования и предотвращения отравления катализаторов в технологических устройствах. Химическое обессоливание, электростатическое разделение и фильтрация — три типичных метода обессоливания сырой нефти. При химическом обессоливании водные и химические поверхностно-активные вещества (деэмульгаторы) добавляются к сырой нефти, нагреваются с тем, чтобы соли и другие примеси растворились в воде или присоединились к ней, а затем были задержаны в резервуаре, где они выпадают в осадок. Электрическое обессоливание использует электростатические заряды высокого напряжения для сосредоточения взвешенных водных шариков в нижней части отстойника. Поверхностно-активные вещества добавляются только тогда, когда сырая нефть имеет большое количество взвешенных веществ. Третий, менее типичный процесс, включает фильтрование нагретой сырой нефти, используя инфузорную землю в качестве среды фильтрации.
При химическом и электростатическом обессоливании исходное сырье нагревается между 66° C и 177° C с целью уменьшения вязкости и поверхностного натяжения с целью более легкого смешивания нефти с промывочной водой и отделения воды. Температура ограничивается давлением паров исходного сырья сырой нефти. Оба метода обессоливания являются непрерывными. Щелочь или кислота могут быть добавлены для корректировки водородного показателя промывки водой, а аммиак добавляется для уменьшения коррозии. Сточные воды вместе с загрязнителями спускаются со дна отстойника в установку по обработке сточных вод. Опресненная сырая нефть непрерывно удаляется из верхней части отстойников и подается в колонну атмосферной перегонки (фракционирования) сырой нефти. (См. Рис.2).
Рис. 2 Процесс обессоливания (предварительной обработки)

Плохое обессоливание вызывает загрязнение труб нагревателей и теплообменников во всех устройствах нефтепереработки, ограничивая поток продуктов и передачу их тепла, и приводит к разгерметизации оборудования вследствие увеличения давления и температур. Чрезмерное давление в обессоливающем устройстве вызывает выход его из строя.
Коррозия, которая имеет место вследствие присутствия сероводорода, хлористого водорода, нафтеновых (органических) кислот и других загрязнителей сырой нефти, также вызывает выход из строя оборудования. Коррозия происходит тогда, когда нейтрализованные соли (хлориды и сульфиды аммония) увлажняются конденсированной водой. Так как обессоливание — закрытый процесс, существует небольшая вероятность воздействия сырой нефти или технических химических веществ на человека, если только не происходит утечка или выброс. Пожар может иметь место в результате утечки в нагревателях, приводящей к выбросу компонента сырой нефти с низкой температурой кипения.
Во время обессоливания существует вероятность воздействия аммиака, сухих химических деэмульгаторов, щелочей или кислот. Там, где при обессоливании сернистой сырой нефти используются повышенные температуры, будет присутствовать сероводород. В зависимости от исходного сырья — сырой нефти и используемых при обработке химических веществ, сточные воды будут содержать различные количества хлоридов, сульфидов, бикарбонатов, аммиака, углеводородов, фенола и взвешенных твердых веществ. Если при фильтрации используется инфузорная земля, ее воздействия должны быть сведены к минимуму или должны контролироваться, так как инфузорная земля может содержать кремнозем с частицами очень маленького размера, что делает ее потенциально опасной для органов дыхания.
Процессы разделения сырой нефти
Первый шаг при переработке нефти — фракционирование сырой нефти в колоннах атмосферной и вакуумной перегонки. Нагретая сырая нефть физически разделяется на различные фракции или фракции прямой перегонки, отличающиеся определенными диапазонами температур кипения и классифицируемые в порядке уменьшения летучести как: газы, легкие дистилляты, средние дистилляты, газойли и остатки. Фракционирование работает, так как градация по температуре от нижней части до верхней части колонны перегонки заставляет компоненты с более высокими температурами кипения конденсироваться первыми, в то время как фракции с более низкими температурами кипения поднимаются выше в колонне прежде, чем они конденсируются. Внутри колонны поднимающиеся пары и опускающиеся жидкости (орошение) смешиваются на уровнях, где их составы находятся в динамическом равновесии друг с другом. На этих уровнях (ректификационных тарелках) располагаются специальные лотки, которые удаляют фракцию жидкости, которая конденсирует на каждом уровне. В типичной двухступенчатой установке по переработке сырой нефти за колонной атмосферной перегонки, производящей легкие фракции и дистилляты, немедленно следует колонна вакуумной перегонки, которая обрабатывает атмосферные остатки. После перегонки только небольшое количество углеводородов подходят для использования в качестве конечного продукта без дальнейшей обработки.
Атмосферная перегонка
В колоннах атмосферной перегонки опресненное исходное сырье — сырая нефть — предварительно нагревается, используя регенерированное тепло процесса. Оно затем поступает к нагревателю нефти прямой перегонки и после нагрева подается в вертикальную ректификационную колонну прямо над основанием при давлениях, слегка превышающих атмосферное и при температурах от 343°C до 371°C во избежание нежелательного термического крекинга, который происходит при более высоких температурах. Более легкие фракции (низкая температура кипения) проникают в верхнюю часть колонны и непрерывно удаляются и направляются к другим установкам для дальнейшей переработки, обработки, смешивания и распределения.
Фракции с самыми низкими температурами кипения, такие как топливный газ и легкая нафта, удаляются из верхней части колонны по верхней трубе как пары. Нафта или бензин прямого погона берутся из верхней секции колонны как верхний поток. Эти продукты используются в качестве исходного сырья при производстве нефтепродуктов и исходного сырья для реформинг-установки, сырья для смешивания с компонентами бензинов, в качестве растворителей и сжиженных нефтяных газов.
Фракции с промежуточным диапазоном кипения, включая газойль, тяжелую нафту и дистилляты, удаляются из средней секции колонны как боковые потоки. Они направляются к конечным операциям для получения керосина, дизельного топлива, мазута, топлива для реактивных двигателей, сырья для каталитических крекинг-установок и компонентов смешивания. Некоторые из этих жидких фракций отпариваются от их более легких фракций, которые возвращаются в колонну в качестве движущихся сверху вниз потоков орошения.
Более тяжелые фракции с более высокими температурами кипения (называемые мазутом, отстоем или верхней нефтью), которые конденсируются или остаются на дне колонны, используются для мазута, производства асфальта или исходного сырья для крекинга, или направляются к нагревателю и в колонну вакуумной перегонки для дальнейшего фракционирования. (См. Рис. 3 и Рис. 4).
Рис. 3 Процесс атмосферный перегонки

Рис. 4 Блок-схема процесса атмосферной перегонки

Вакуумная перегонка
Колонны вакуумной перегонки обеспечивают пониженное давление, требуемое для предотвращения термического крекинга при перегонке остатка или верхней сырой нефти из колонны атмосферной перегонки при более высоких температурах. Внутренние конструкции некоторых колонн вакуумной перегонки отличаются от конструкций колонн атмосферной перегонки в том, что вместо лотков используются случайно расположенные насадки и площадки с туманоуловителями. Колонны большего диаметра используются для поддержания скоростей на более низком уровне. Типичная колонна вакуумной перегонки первой стадии может производить газойли, базовые компоненты смазочных масел и тяжелые остатки для деасфальтизации пропаном. Колонна второй стадии, работающая при более низком вакууме, дистиллирует избыточный остаток из колонны атмосферной перегонки, который не используется при изготовлении исходного сырья смазки, и избыточный остаток из первой башни вакуумной перегонки не используется для деасфальтизации.
Колонны вакуумной перегонки обычно используются для отделения сырья каталитического крекинга от избыточного остатка. Отстои колонны вакуумной перегонки могут быть также посланы в установку для коксования, использоваться в качестве смазочного материала или сырья для асфальта или быть десульфурированы и смешаны с мазутом с низким содержанием серы. (см. Рис. 5 и Рис. 6).
Рис. 5 Процесс вакуумной перегонки

Рис. 6 Схема процесса вакуумной перегонки

Ректификационные колонны
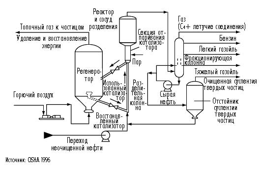
На нефтеперерабатывающих заводах имеются другие многочисленные ректификационные колонны меньшего размера, спроектированные для разделения определенных и уникальных продуктов, которые все работают по тому же самому принципу, что и колонны атмосферной перегонки. Например, депропанизатор — маленькая колонна, разработанная для отделения пропана от изобутана и более тяжелых компонентов. Другая колонна большего размера используется для разделения этилбензола и ксилола. Маленькие “пузырьковые” колонны, называемые секциями отпаривания, используют острый пар для удаления небольших количеств легких продуктов (бензина) из более тяжелых нефтепродуктов.
Контрольные температуры, давления и орошение должны поддерживаться внутри пределов рабочих параметров для предотвращения термического крекинга внутри ректификационных колонн. Предусматривается использование систем аварийного сброса, так как могут иметь место отклонения давления, температур или уровней жидкости, при выходе из строя приборов автоматического контроля. Исходное сырье — сырая нефть может содержать значительные количества воды во взвешенном состоянии, которая отделяется во время пуска, и вместе с водой, остающейся в колонне после продувки паром, осаждается на дне колонны. Эта вода может нагреваться до температуры кипения и создавать мгновенный паровой взрыв после контакта с нефтью, находящейся в установке.
Теплообменники предварительного подогрева, печь и теплообменник отстоя, колонна атмосферной перегонки и вакуумная печь, колонна вакуумной перегонки и ее верхняя часть — восприимчивы к коррозии со стороны соляной кислоты (HCl), сероводорода (), воды, сернистых соединений и органических кислот. При обработке сернистой сырой нефти может иметь место сильная коррозия как в колоннах атмосферной, так и вакуумной перегонки, где температуры металлов превышают 232°C, и в трубах печи. Сероводород () также вызывает трещины в стали. При обработке сырой нефти с высоким содержанием азота, окиси азота, которые являются коррозионными по отношению к стали, образуются в топочных газах печей при охлаждении их до низких температур в присутствии воды.
Химические вещества используются для контроля коррозионного действия соляной кислоты на оборудование ректификационных установок. Аммиак может быть введен в верхний поток колонны до начала конденсации паров и/или щелочной раствор может быть осторожно введен в горячее сырье сырой нефти. Если не вводится достаточного количества воды для промывки нефти на стадии обессоливания, могут образовываться отложения хлорида аммония, вызывая сильную коррозию.
Атмосферная и вакуумная перегонка — закрытые процессы, и воздействия при них на человека являются минимальными. Когда обрабатывается кислая (высокосернистая) нефть, могут существовать потенциальные возможности воздействия сероводорода в теплообменнике предварительного нагрева и печи, зоне ввода сырья в колонну и верхней системе, вакуумной печи и колонне, теплообменнике отстоя. Вся сырая нефть и продукты перегонки содержат ароматические соединения с высокой температурой кипения, включая канцерогенные полициклические ароматические углеводороды. Краткосрочные воздействия высоких концентраций паров нефти могут привести к головным болям, тошноте и головокружению, а длительное воздействие может привести к потере сознания. Бензол присутствует в ароматической нафте, и его воздействие на персонал должно быть ограничено. Верхняя гексаноотгонная колонна может содержать большие количества обычного гексана, который может воздействовать на нервную систему. Хлористый водород может присутствовать в теплообменнике предварительного нагрева, верхних зонах колонны. Сточные воды могут содержать растворимые в воде сульфиды высокой концентрации и другие, растворимые в воде соединения, такие как аммиак, хлориды, фенол и меркаптан, в зависимости от исходного сырья сырой нефти и химических веществ обработки.
Процессы преобразования сырой нефти
Процессы преобразования, такие как крекинг, объединение и перегруппирование, изменяют размер и структуру молекул углеводорода с тем, чтобы преобразовать фракции в более желанные продукты. (См. Таблицу 3).
Таблица 3 Краткий обзор процессов переработки нефти
| Название процесса | Действие | Метод | Цель | Исходное сырье | Изделия |
| Процессы фракционирования | |||||
| Атмосферная перегонка | Разделение | Термический | Разделить фракции | Опресненная сырая нефть | Газ, газойль, дистиллят, остаток |
| Вакуумная перегонка | Разделение | Термический | Разделить без расщепления | Остаток колонны атмосферной перегонки | Газойль, масляный дистиллят, остаток |
| Процессы преобразования — Разложение | |||||
| Каталитический крекинг | Изменение | Каталитический | Усовершен- ствовать бензин | Газойль, дистиллят кокса | Бензин, исходное сырье нефтепродуктов |
| Коксование | Полимеризация | Термический | Преобразовать вакуумные остатки | Остаток, тяжелая нефть, гудрон | Нафта, газойль, кокс |
| Гидрокрекинг | Гидрирование | Каталитический | Преобразовать в более легкие углеводороды | Газойль, крекированная нефть, остатки | Более легкие и более высококачественные продукты |
| Паровой реформинг водорода | Разложение | Термический/ каталитический | Произвести водород | Десульфированный газ,, пар | Водород, СО, |
| Паровой крекинг | Разложение | Термический | Расщепить большие молекулы | Тяжелое топливо/дистиллят колонны атмосферной перегонки | Крекированная нафта, кокс, остатки |
| Легкий крекинг | Разложение | Термический | Уменьшить вязкость | Остаток колонны атмосферной перегонки | Дистиллят, крекинг-остаток |
| Процессы преобразования — Объединение | |||||
| Алкилирование | Комбинирование | Каталитический | Объединить олефины и изопарафины | Изобутан /олефины крекинг-установки | Изооктан (алкилат) |
| Приготовление консистентной смазки | Комбинирование | Термический | Совместить мыла и масла | Смазочное масло, жирная кислота | Консистентная смазка |
| Полимеризация | Полимеризация | Каталитический | Объединить два или более олефинов | Олефины крекинг-установки | Высокооктановая нафта, компоненты нефтепродуктов |
| Процессы преобразования- Изменение/перегруппирование | |||||
| Каталитический реформинг | Изменение/ дегидирование | Каталитический | Усовершен- ствовать низкооктановую нафту | Нафта установки коксования/гидрокрекинг-установки | Высокооктановый продукт реформинга/аромат-соединение |
| Изомеризация | Перегруп- пирование | Каталитический | Преобразовать прямую цепочку углеводородов в разветвленную | Бутан, пентан, гексан | Изобутан/пентан/гексан |
| Процессы обработки (очистки) | |||||
| Очистка амином | Обработка | Поглощение | Удалить кислотные загрязнители | Сернистый газ, углеводороды с и | Бескислотные газы и жидкие углеводороды |
| Обессоливание (предварительная очистка) | Дегидратация | Поглощение | Удалить загрязнители | Сырая нефть | Опресненная сырая нефть |
| Сушка и очистка от активной серы | Обработка | Поглощение / термический | Удалить и сернистые соединения | Жидкий углеводород, сжиженный нефтяной газ, алкилированное исходное сырье | Очищенные от серы и сухие углеводороды |
| Извлечение фурфуролом | Извлечение растворителем | Поглощение | Усовершен- ствовать средний дистиллят и масла | Оборотный газойль и исходное сырье масел | Высококачественный дизель и смазочное масло |
| Гидродесуль- фурация | Обработка | Каталитический | Удалить серу, загрязнители | Высокосернистый остаток/газойль | Десульфурированные олефины |
| Гидрочистка | Гидрирование | Каталитический | Удалить примеси/насыщенные углеводороды | Остатки, углеводороды крекинга | Сырье крекинг-установки, дистиллят, смазочное масло |
| Извлечение фенолом | Извлечение растворителем | Поглощение/ термический | Улучшить показатель вязкости масел, цвет | Базовые компоненты масляного сырья | Высококачественное смазочное масло |
| Деасфальтизация растворителем | Обработка | Поглощение | Удалить асфальт | Остаток колонны вакуумной перегонки, пропан | Тяжелый компонент смазочного масла, асфальт |
| Депарафинизация растворителем | Обработка | Охлаждение/ фильтр | Удалить воск из смазочного масла | Смазочное масло башни вакуумной перегонки | Депарафинизированные базовые компоненты смазки |
| Извлечение растворителем | Извлечение растворителем | Поглощение/ осаждение | Отделить ненасыщенные ароматсо- единения | Газойль, продукт реформинга, дистиллят | Высокооктановый бензин |
| Очистка от активной серы | Обработка | Каталитический | Удалить преобразовать меркаптан | Неочищенный дистиллят/бензин | Высококачественный дистиллят/бензин |
Алкены — молекулы с прямой цепочкой, имеющие формулу, содержащие, по крайней мере, одну двойную (ненасыщенную) связь в цепи. Самая простая молекула алкена — моноолефинэтилена с двумя атомами углерода, соединенными двойной связью и четырьмя атомами водорода. Диолефины (содержащие две двойные связи), такие как 1,2-бутадиен и 1,3-бутадиен, и алкины (содержащие тройную связь), такие как ацетилен, встречаются в и более легких фракциях, полученных в результате крекинга. Олефины являются более химически активными, чем парафины или нафтены, и легко объединяется с другими элементами, такими как водород, хлор и бром.Ряд углеводородных молекул, которые обычно не присутствуют в сырой нефти, но важны для процесса нефтепереработки, образуются в результате преобразования. Олефины (алкены, диолефины и алкины) — ненасыщенные цепе- или кольцеобразные углеводородные молекулы с, по крайней мере, одной двойной связью. Они обычно образуются путем термического и каталитического крекинга и редко встречаются в необработанной, сырой нефти.
Процессы крекинга
После перегонки используются последующие процессы нефтепереработки с целью изменения молекулярных структур фракций с целью создания более желанных продуктов. Один из этих процессов, крекинг, нарушает (или расщепляет) более тяжелые и с более высокой температурой кипения нефтяные фракции на более ценные продукты, такие как газообразные углеводороды, бензин, компоненты смешения бензина, газойль и мазут. Во время этого процесса некоторые молекулы объединяются (полимеризируются) с целью формирования молекулы большего размера. Основные типы крекинга — термический крекинг, каталитический крекинг и гидрокрекинг.
Процессы термического крекинга
Процессы термического крекинга, разработанные в 1913 году, связаны с нагревом дистиллятных топлив тяжелой нефти под давлением в больших барабанах до тех, пока они не расщепляются в меньшие молекулы с лучшими антидетонационными характеристиками. Этот ранний метод, который был связан с образование большого количества твердого, нежелательного кокса, эволюционировал в современные процессы термического крекинга, включая легкий крекинг, паровой крекинг и коксование.
Легкий крекинг
Легкий крекинг — мягкая форма термического крекинга, которая уменьшает температуру текучести парафиновых остатков и значительно понижает вязкость компонента без воздействия на диапазон температур кипения. Остатки из колонны атмосферной перегонки мягко растрескиваются в нагревателе при атмосферном давлении. Они затем охлаждаются холодным газойлем для предотвращения чрезмерно глубокого крекинга и испаряются в колонне перегонки. Термически крекированный оставшийся гудрон, который скапливается на дне колонны фракционирования, стабилизируется в вакууме в секции отпаривания, а дистиллят рециркулирует. (См. Рис. 7)
Рис. 7 Процесс легкого крекинга

Паровой крекинг
Паровой крекинг производит олефины путем термического крекинга исходных материалов больших углеводородных молекул при давлениях, которые слегка превышают атмосферные и при очень высоких температурах. Остаток парового крекинга смешивается с тяжелым топливом. Нафта, полученная в результате парового крекинга, обычно содержит бензол, который извлекается до гидроочистки.
Коксование
Коксование — сильная форма термического крекинга, используемая для получения бензина прямого погона (нефть установки коксования) и различных фракций среднего дистиллята, используемых в качестве исходного сырья каталитического крекинга. Этот процесс так полно восстанавливает водород из углеводородной молекулы, что остаток является формой почти чистого углерода, названного коксом. Два наиболее типичных процесса коксования — замедленное коксование и непрерывное (контактное или жидкое) коксование, которые, в зависимости от механизма реакции, времени, температуры и исходного сырья, производят три типа кокса — губчатый, пористый и игольчатый кокс. (См. Рис. 8).
Рис. 8 Процесс коксования

Замедленное коксование. При замедленном коксовании исходное сырье сначала загружается во фракционирующую колонну для отделения более легких углеводородов, а затем объединяется с тяжелой оборотной нефтью. Тяжелое исходное сырье подается в коксовую печь и нагревается до высоких температур при низком давлении с целью предотвращения преждевременного коксования в трубах нагревателя, производя частичное выпаривание и мягкий крекинг. Смесь жидкости/пара откачивается из нагревателя к одному или большему числу барабанов установок для коксования, где горячий материал находиться приблизительно 24 часа (замедление) при низком давлении до тех пор, пока он не расщепляется на более легкие продукты. После того как кокс достигает заранее определенного уровня в одном барабане, поток ответвляется к другому барабану для сохранения непрерывного процесса. Пары из барабанов возвращаются в установку фракционирования для разделения газа, нафты и газойлей и для рециркулирования более тяжелых углеводородов через печь. Полный барабан стерилизуется водяным паром для отпаривания некрекированных углеводородов, охлаждается посредством вбрызгивания воды и механически очищается от нагара с помощью сверла, поднимающегося со дна барабана, или гидравлическим путем разрыва пласта кокса с помощью воды высокого давления, выброшенной от вращающегося резца.
Непрерывное коксование. Непрерывное (контактное или жидкое) коксование — процесс с движущимся слоем, который функционирует при более низких давлениях и более высоких температурах, чем замедленное коксование. При непрерывном коксовании происходит термический крекинг путем использования тепла, передаваемого от частиц горячего оборотного кокса к исходному сырью в радиальном смесителе, называемом реактором. Газы и пары берутся из реактора, охлаждаются с целью остановки дальнейшей реакции и фракционируются. После реактора кокс входит в барабан и поднимается к подающему устройству и сортировщику, где большие частицы кокса удаляются. Оставшийся кокс спускается в подогреватель реактора для рециркулирования вместе с исходным сырьем. Процесс является автоматическим в том смысле, что имеется непрерывный поток кокса и исходного сырья, а коксование происходит как в реакторе, так и в барабане.
Соображения по поводу здоровья и безопасности
При коксовании температурный контроль должен проводиться внутри определенного диапазона, так как при высоких температурах будет образовываться кокс, который является слишком твердым, чтобы его можно было вырезать из барабана. Наоборот, температуры, которые являются слишком низкими, приведут к суспензии твердых частиц в жидкости с высоким содержанием асфальта. Если температуры коксования выходят из-под контроля, может иметь место экзотермическая реакция.
При термическом крекинге, когда обрабатываются сернистая нефть, может иметь место коррозия там, где температуры металлов находятся между 232°C и 482°C. Оказывается, что кокс формирует защитный слой на металле при температуре свыше 482°C. Однако, сероводородная коррозия имеет место, когда температуры не контролируются должным образом выше 482°C. Нижняя часть колонны, высокотемпературные теплообменники, печь и барабаны, предназначенные для пропитки, подвергаются коррозии. Непрерывный теплообмен приводит к вспучиванию и растрескиванию оболочек коксовых барабанов.
Водное или паровое впрыскивание используется для предотвращения нарастания кокса в трубах печей установки в случае замедленного коксования. Вода должна полностью вытечь из установки для коксования, чтобы не вызвать взрыв при перезагрузке горячего кокса. В аварийных ситуациях требуются дополнительные средства выхода с рабочей платформы, находящейся наверху кокосовых барабанов.
При обращении с горячим коксом могут быть получены ожоги вследствие воздействия пара при утечках из труб или горячей воды, горячего кокса или горячей суспензии твердых частиц, которая может быть выброшена при открытии установок для коксования. Существует потенциальная опасность воздействия ароматической нефти, содержащей бензол, сероводород и угарный газ, и ничтожных количеств канцерогенных полициклических ароматических углеводородов, связанных с операциями коксования. Отходы сернистой воды могут быть высокощелочными и содержать нефть, сульфиды, аммиак и фенол. Когда кокс движется как суспензия твердых частиц, может произойти истощение кислорода внутри замкнутых пространств, таких как бункеры, потому что влажный углерод поглощает кислород.
Процессы каталитического крекинга
Каталитический крекинг расщепляет сложные углеводороды на более простые молекулы с целью увеличения качества и количества более легких, более желанных продуктов и уменьшения остатков. Тяжелые углеводороды подвергаются действию катализаторов при высокой температуре и низком давлении, которые содействуют химическим реакциям. Этот процесс перегруппировывает молекулярную структуру, преобразуя компоненты тяжелых углеводородов в более легкие фракции, такие как керосин, бензин, сжиженный нефтяной газ, масло и исходное сырье для получения нефтепродуктов (см. Рис. 9 и Рис. 10). Выбор катализатора зависит от комбинации самой большой возможной реактивности и лучшего сопротивления трению. Катализаторы, используемые в крекинге при нефтепереработке, являются обычно твердыми материалами (цеолит, гидросиликат алюминия, обрабатываемая бентонитная глина, земля Фуллера, боксит и алюминсиликат), которые присутствуют в форме порошков, шариков, гранул или формообразных материалов, называемых штамповками (экструдитами).
Рис. 9 Процесс каталитического крекинга

Рис. 10 Блок-схема процесса каталитического крекинга

Имеются три основных функции во всех процессах каталитического крекинга:
Реакция — исходное сырье реагирует с катализатором и расщепляется в различные углеводороды.
Регенерирование — катализатор восстанавливается путем выжигания кокса.
Фракционирование — крекированный поток углеводородов разделяется на различные продукты.
Процессы каталитического крекинга являются очень гибкими, а рабочие параметры могут быть отрегулированы с целью удовлетворения изменяющегося спроса на изделия. Три основных типа процессов каталитического крекинга:
Каталитический крекинг с флюидизированным катализатором (FCC)
Каталитический крекинг с перемещающимся катализатором
Каталитический крекинг с термофором (TCC).
Каталитический крекинг с флюидизированным катализатором
Каталитические крекер-установки с флюидизированным катализатором имеют секцию катализатора (разделительная колонна, реактор и регенератор) и секцию фракционирования, при этом обе работают вместе как объединенное устройство обработки. Каталитический крекинг с флюидизированным катализатором использует мелкий порошковый катализатор, взвешенный в нефтяных парах или газе, который действует как жидкость. Крекинг происходит в подводящей трубе (разделительная колонна), по которой смесь катализатора и углеводороды текут через реактор.
Процесс каталитического крекинга с флюидизированным катализатором смешивает предварительно нагретый углеводород с горячим, восстановленным катализатором, когда он поступает в разделительную колонну, ведущую к реактору. Загрузка объединяется с оборотной нефтью внутри разделительной колонны, испаряется и достигает температуры реактора с помощью горячего катализатора. Когда смесь продвигается вверх по реактору, загрузка расщепляется при низком давлении. Этот крекинг продолжается до тех пор, пока нефтяные пары не отделились от катализатора в циклонах реактора. Результирующий поток изделия входит в колонну, где он разделяется на фракции, при этом часть тяжелой нефти направляется обратно к разделительной колонне в качестве оборотной нефти.
Использованный катализатор восстанавливается с целью удаления кокса, который собирается на катализаторе во время процесса. Использованный катализатор течет через секцию отпаривания катализатора к регенератору, где он смешивается с предварительно нагретым воздухом, выжигая большую часть отложений кокса. Новый катализатор добавляется, а старый катализатор удаляется с целью оптимизации процесса крекинга.
Каталитический крекинг с перемещающимся катализатором
Каталитический крекинг с перемещающимся катализатором подобен каталитическому крекингу с флюидизированным катализатором; однако, катализатор имеет форму гранул вместо мелкого порошка. Гранулы непрерывно двигаются с помощью конвейера или труб с пневматическими подъемниками к бункеру, находящемуся в верхней части устройства, а затем перемещаются вниз под действием силы тяжести через реактор к регенератору. Регенератор и бункер изолированы от реактора паровыми изолирующими слоями. Крекированный продукт разделяется на оборотный газ, нефть, очищенную нефть, дистиллят, нафту и влажный газ.
Каталитический крекинг с термофором
При каталитическом крекинге с термофором предварительно нагретое исходное сырье двигается под действием силы тяжести через катализатор реактора. Пары отделяются от катализатора и посылаются к колонне фракционирования. Использованный катализатор восстанавливается, охлаждается и рециркулирует, а топочный газ, полученный в результате регенерации, посылается к котлу-утилизатору для регенерации тепла.
Соображения по поводу здоровья и безопасности
Должны осуществляться регулярное взятие проб и проверка исходного сырья, продукта и оборотных потоков для обеспечения правильного процесса крекинга и, чтобы загрязнители не попадали в технологический поток. Агенты, вызывающие коррозию, или отложения в исходном сырье могут засорять газовые компрессоры. При обработке сернистой нефти можно ожидать возникновение коррозии там, где температуры — ниже 482°C. Коррозия происходит там, где и существуют жидкие и паровые фазы и на площадях, подвергшихся местному охлаждению, таких как сопла и поддерживающие устройства платформ. При обработке исходного сырья с высоким содержанием азота воздействие аммиака и цианида может подвергнуть коррозии оборудование из углеродистой стали в верхних системах каталитического крекинга с флюидизированным катализатором, крекингу или водородному пузырению, которые могут быть сведены к минимуму промывкой водой или ингибиторами коррозии. Водная промывка может использоваться для защиты верхних конденсаторов основной колонны, подвергаемой загрязнению гидросульфидом аммония.
Должно быть осмотрено важное оборудование, включая насосы, компрессоры, печи и теплообменники. Осмотры должны включить проверку утечек вследствие эрозии или других неисправностей, таких как накапливание катализатора на труборасширителях, коксование в верхних линиях загрузки из остатков исходного сырья и при других необычных рабочих условиях.
Жидкие углеводороды в катализаторе или при входе в нагретый горючий воздушный поток могут вызвать экзотермические реакции. В некоторых процессах должны быть предприняты меры предосторожности для предотвращения образования взрывчатых концентраций пыли катализатора во время сброса или удаления. При разгрузке коксованного катализатора существует возможность самовозгорания сульфида железа. Сульфид железа может загораться спонтанно при воздействии воздуха, и, следовательно, должен быть смочен водой для предотвращения последующего возгорания паров. Использованный при коксовании катализатор может быть либо охлажден ниже 49°C перед разгрузкой из реактора, либо сначала разгружен в контейнеры, очищенные с помощью инертного азота и затем охлажденные перед дальнейшей обработкой.
Существует возможность воздействия чрезвычайно горячих углеводородных жидкостей или паров во время взятия проб процесса или если имеет место их утечка или выброс. Кроме того, воздействие канцерогенных полициклических ароматических углеводородов, ароматической нефти, содержащей бензол, сернистый газ (топливный газ, возникший в результате таких процессов, как каталитический крекинг и гидроочистка, которые содержат сероводород и диоксид углерода), сероводород и/или угарный газ, может иметь место во время выбросов продуктов или паров. Неумышленное образование высокотоксичного никелькарбонила может произойти при процессах крекинга с использованием никелевых катализаторов с результирующей потенциальной возможностью опасного воздействия.
Регенерация катализатора включает отгонку низкокипящих фракций водяным паром и удаление нагара, что приводит к потенциальному воздействию потоков жидких отходов, которые могут содержать изменяющиеся количества сернистой воды, углеводорода, фенола, аммиака, сероводорода, меркаптана и других материалов, в зависимости от исходного сырья, сырой нефти и процессов. Необходимо использовать опыт безопасной работы и соответствующие индивидуальные средства защиты при обращении с использованным катализатором, при перезагрузке катализатора и при утечках или выбросах.
Процесс гидрокрекинга
Гидрокрекинг — двухступенчатый процесс, сочетающий каталитический крекинг и гидрирование, при котором фракции дистиллята расщепляются в присутствии водорода и специальных катализаторов с целью создания более желанных продуктов. Гидрокрекинг имеет преимущество по сравнению с каталитическим крекингом в том, что исходное сырье с высокой концентрацией серы может обрабатываться без предварительной десульфурации. При данном процессе тяжелое ароматическое исходное сырье преобразуется в более легкие продукты при очень высоких давлениях и довольно высоких температурах. Когда исходное сырье имеет высокое содержание парафина, водород предотвращает образование полициклических ароматических углеводородов, уменьшает образование гудрона и предотвращает накапливание кокса на катализаторе. Гидрокрекинг производит относительно большие количества изобутана для исходного сырья для алкилирования и также вызывает изомеризацию для контроля над температурой текучести, при этом оба показателя являются важными характеристиками высококачественного топлива для реактивных двигателей.
На первом этапе исходное сырье смешивается с оборотным водородом, нагревается и посылается в первичный реактор, где большое количество исходного сырья преобразуется в средние дистиллянты. Соединения серы и азота преобразуются с помощью катализатора в реакторе первичной ступени в сероводород и аммиак. Остаток нагревается и посылается к сепаратору высокого давления, где газы, обогащенные водородом, удаляются и рециркулируют. Остающиеся углеводороды отпариваются или очищаются с целью удаления сероводорода, аммиака и легких газов, которые собираются в накопителе, где бензин отделяется от сернистого газа.
Отпаренные жидкие углеводороды из первичного реактора смешиваются с водородом и посылаются к реактору второй ступени, где они расщепляются на высококачественный бензин, топливо для реактивных двигателей и дистиллятные компоненты смешивания. Эти продукты идут через ряд сепараторов высокого и низкого давления с целью отделения газов, которые рециркулируют. Жидкие углеводороды стабилизируются, расщепляются и отпариваются, при этом легкие продукты сырой нефти из установки гидрокрекинга используются для смешивания бензина, в то время как более тяжелая сырая нефть рециркулирует или посылается в устройство каталитического реформинга. (См. Рис. 11)
Рис. 11 Процесс гидрокрекинга

Соображения по поводу здоровья и безопасности
Инспектирование и проверка приборов сброса имеют важное значение из-за наличия очень высоких давлений в этих процессах. Необходим хороший контроль над процессом для защиты от закупоривания пластов реактора. Из-за рабочих температур и присутствия водорода, содержание сероводорода в исходном сырье должно строго поддерживаться на минимальном уровне для уменьшения возможности возникновения сильной коррозии. Должна также учитываться коррозия влажной двуокисью азота в местах конденсации. При обработке исходного сырья с высоким содержанием азота, аммиак и сероводород формирует гидросульфид аммония, который вызывает сильную коррозию при температурах ниже точки росы воды. Гидросульфид аммония также присутствует при отпаривании сернистой воды. Так как установка гидрокрекинга работает при очень высоких давлениях и температурах, для предотвращения пожаров и взрывов важно контролировать как утечки углеводорода, так и выбросы водорода.
Так как процесс гидрокрекинга является закрытым процессом, при нормальных рабочих условиях воздействия являются минимальными. Имеется потенциальная возможность воздействия алифатической нафты, содержащей бензол, канцерогенных полициклических ароматических углеводородов, газообразного углеводорода и эмиссий пара, обогащенного водородом газа и сероводородного газа, полученного в результате утечек при высоком давлении. Выбросы больших количеств угарного газа могут иметь место во время регенерации катализатора и его оборота. Отпаривание и регенерация катализатора создают потоки отходов, содержащих сернистую воду и аммиак. Следует использовать безопасный опыт работы и соответствующие индивидуальные средства защиты при обращении с использованным катализатором. Во время перезагрузки в некоторых процессах требуется позаботиться о том, чтобы не формировались взрывчатые концентрации каталитической пыли. Разгружаемый использованный при коксовании катализатор требует соблюдения специальных мер предосторожности с целью предотвращения пожаров вызываемых сульфидом железа. Прошедший коксование катализатор должен быть либо охлажден до температуры ниже 49°C перед разгрузкой, либо размещен в контейнерах, инертных по отношению к азоту, пока он не охлажден.
Процессы объединения
Два объединяющихся процесса, полимеризация и алкилирование, используются, для соединения маленьких молекул, обедненных водородом, называемых олефинами, восстановляемых термическим и каталитическим крекингом, с целью создания более желанного исходного сырья смешивания с бензином.
Полимеризация
Полимеризация — процесс объединения двух или больше ненасыщенных органических молекул (олефинов) с целью формирования одиночной, более тяжелой молекулы с теми же самыми элементами в той же самой пропорции, как и у первоначальной молекулы. Этот процесс преобразует газообразные олефины, такие как этилен, пропилен и бутилен, преобразованные установками термического крекинга и крекинга с флюидизированным катализатором в более тяжелые, более сложные, высокооктановые молекулы, включая сырую нефть и исходное сырье для нефтепродуктов. Исходное сырье олефинов предварительно обрабатывается с целью удаления сернистых соединений и других нежелательных веществ, а затем передается к фосфорному катализатору, обычно твердому катализатору, или жидкой фосфорной кислоте, где происходит экзотермическая полимерная реакция. Это требует использования охлаждающей воды и впрыскивания холодного исходного сырья в реактор с целью контроля над температурами при различных давлениях. Кислота в жидкостях удаляется с помощью промывки щелочью, жидкости фракционируют, а кислотный катализатор рециркулирует. Пар фракционирует с целью удаления бутана и нейтрализуется с целью устранения следов кислоты. (См. Рис. 12)
Рис. 12 Процесс полимеризации

Будет иметь место сильная коррозия, ведущая к выходу оборудования из строя, когда вода входит в контакт с фосфорной кислотой (водная мойка при выключении). Коррозия может также иметь место в трубопроводах, кипятильниках, теплообменниках и других местах, где кислота может выпадать в осадок. Существует потенциальная возможность воздействия щелочной мойки (гидрооксид натрия), фосфорной кислоты, используемой в процессе или вымываемой во время циклов опорожнения — закачивания — отбора, и пыли катализатора. Существует потенциальная возможность неуправляемой экзотермической реакции, если имеют место потери охлаждающей воды.
Алкилирование
Алкилирование объединяет молекулы олефинов, полученные в результате каталитического крекинга, с молекулами изопарафинов с целью увеличения объема и октанового числа смесей бензина. Олефины будут реагировать с изопарафинами в присутствии высоко активного катализатора, обычно серной кислоты или фтористоводородной кислоты (или хлорида алюминия), с целью создания парафиновых молекул с длинной разветвленной цепочкой, называемых алкилатами (изооктан) с исключительной антидетонационной стойкостью. Алкилат затем разделяется на фракции. Относительно низкие температуры реакции от 10°C до 16°C для серной кислоты, 27°C до 0°C для фтористоводородной кислоты (HF) и 0°C для хлорида алюминия контролируются и поддерживаются путем охлаждения. (См. Рис. 13)
Рис. 13 Процесс алкилирования

Алкилирование серной кислоты. В установках алкилирования серной кислоты каскадного типа, исходное сырье, включая пропилен, бутилен, амилен и свежий изобутан, входит в реактор, где оно контактируют с катализатором серной кислоты. Реактор разделен на зоны, при этом олефины проходят через распределительные элементы к каждой зоне, а серная кислота и изобутан текут через перегородки из зоны к зоне. Тепло реакции удаляется путем испарения изобутана. Изобутановый газ удаляется из верхней части реактора, охлаждается и рециркулирует, при этом часть направляется к колонне депропанизатора. Остатки из реактора осаждаются, а серная кислота удаляется со дна резервуара и рециркулирует. Щелочные и/или водные скрубберы используется для удаления небольших количеств кислоты из технологического потока, которые затем поступают к колонне деизобутанизатора. Изобутан дебутанизатора рециркулирует, а оставшиеся углеводороды разделяются в колонне повторного погона и/или направляются на смешивание.
Алкилирование фтористоводородной кислоты. Имеются два типа процессов алкилирования фтористоводородной кислоты: Phillips и UOP. В процессе Phillips, исходное сырье олефинов и изобутана сушится и подается к комбинированной установке реактора/отстойника. Углеводород из зоны отстоя загружаются в главную фракционирующую колонну. Верхняя часть главной колонны ведет к депропанизатору. Пропан с ничтожным количеством фтористоводородной кислоты (HF) идет к секции отпаривания фтористоводородной кислоты, а затем каталитически дефторируется, обрабатывается и посылается на хранение. Изобутан извлекается из главной фракционирующей колонны и рециркулирует в реакторе/отстойнике, а алкилат со дна главной колонны посылается к делителю.
Процесс UOP использует два реактора с отдельными отстойниками. Половина высушенного исходного сырья загружается в первый реактор вместе с оборотным и подпитывающим изобутаном, а затем в отстойник, где кислота рециркулирует, а углеводород загружается во второй реактор. Другая половина исходного сырья идет ко второму реактору, при этом кислота отстойника рециркулирует, а углеводороды загружаются в главную фракционирующую колонну. Последующая обработка подобна обработке в случае Phillips, при которой верхняя часть из главной фракционирующей колонны поступает в депропанизатор, изобутан рециркулирует, а алкилат посылается к делителю.
Соображения по поводу здоровья и безопасности
Серная кислота и фтористоводородная кислота — опасные химические вещества, и важно предпринять меры безопасности во время доставки и разгрузка кислоты. Имеется потребность поддерживать концентрации серной кислоты на уровне от 85 до 95% для хорошей работы и с целью сведения к минимуму коррозии. Чтобы предотвратить коррозию из-за фтористоводородной кислоты, концентрации кислоты внутри технической установки должны поддерживаться выше 65 %, а влажность ниже 4 %. Некоторая коррозия и загрязнение в установке серной кислоты имеют место из-за разложения сложных эфиров серной кислоты, или там, где для нейтрализации добавляется щелочь. Эти сложные эфиры могут быть удалены обработкой новой кислотой и промывкой горячей водой.
Осадки могут быть вызваны потерей воды хладагента, необходимой для поддержания температур процесса. Давление на стороне охлаждающей воды и пара теплообменников должно поддерживаться ниже минимального давления на стороне обслуживания кислоты с целью предотвращения загрязнения. Вентиляционные отверстия могут быть направлены к скрубберам кальцинированной соды с целью нейтрализации фтористоводородного газа или паров фтористоводородной кислоты перед выбросом. Ограждения, дренаж и изоляция могут быть предусмотрены для защиты технологической установки с тем, чтобы сточные воды могли быть нейтрализованы перед выбросом в систему канализации.
Установки фтористоводородной кислоты должны быть полностью осушены и химически очищены перед циклами опорожнения — закачивания — отбора и входом с целью устранения всех следов фторида железа и фтористоводородной кислоты. Там, где использовалась вода, установка должна быть полностью высушена до того, как поступит фтористоводородная кислота. Утечки, разливы или выбросы с участием фтористоводородной кислоты или углеводородов, содержащих фтористоводородную кислоту, являются чрезвычайно опасными. Необходимо соблюдать меры предосторожности с целью обеспечения, чтобы с оборудованием и материалами, которые были в контакте с кислотой, обращались осторожно и их полностью очистили до того, как они покинут технологические площади или нефтеперерабатывающий завод. Часто используются чаны для промывки погружением с целью нейтрализации оборудования, которое вошло в контакт с фтористоводородной кислотой.
Существуют потенциальные возможности серьезных опасных и ядовитых воздействий, если имеют место утечки или выбросы. Прямой контакт с серной или фтористоводородной кислотой вызовет серьезные повреждения кожи и глаз, а вдыхание кислотных туманов или углеводородных паров, содержащих кислоту, вызовет сильное раздражение и повреждение системы органов дыхания. Должны соблюдаться специальные, предупредительные меры готовности на случай аварии, и должна быть предусмотрена защита, которая соответствует потенциальной опасности и на тех площадях, которые возможно подвергаются воздействию. Следует использовать опыт безопасной работы и соответствующие индивидуальные средства защиты кожи и дыхания там, где существуют опасности потенциального воздействия фтористоводородной и серной кислот во время таких обычных операций, как определение показаний приборов, инспектирование и взятие проб процесса, а также во время реагирования в случае аварии, технического обслуживания и циклов опорожнения — закачивания — отбора. Процедуры должны быть соблюдены на месте для обеспечения, чтобы защитное снаряжение и костюм, поврежденные воздействием серной или фтористоводородной кислоты, включая химические защитные костюмы, покрытия головы и обуви, перчатки, защита лица и глаз и защитное дыхательное снаряжение, были полностью очищены и обеззаражены перед повторным использованием.
Процессы перегруппирования
Каталитический реформинг и изомеризация — процессы, которые перегруппировывают углеводородные молекулы с целью создания продуктов с различными характеристиками. После крекинга некоторые потоки бензина, хотя и имеющие нужные размеры молекул, требуют дальнейшей обработки с целью улучшения их характеристик, так как у них наблюдается отсутствие некоторых качеств, таких как содержание серы или октановое число. Реформинг водорода (пара) производит дополнительный водород для использования в процессе гидрирования.
Каталитический реформинг
Процессы каталитического реформинга преобразовывают низкооктановую тяжелую нафту в ароматические углеводороды для исходного сырья нефтепродуктов и высокооктановых компонентов бензина, называемых продуктами реформинга, путем молекулярной перегруппировки или дегидрирования. В зависимости от исходного сырья и катализаторов, продукты реформинга могут быть получены с очень высокими концентрациями толуола, бензола, ксилола и других ароматсоединений, полезных при смешивании бензина и нефтехимической обработке. Водород, важный побочный продукт, отделяется от продукта реформинга для рециркулирования и использования в других процессах. Полученный в результате продукт зависит от температуры и давления реактора, используемого катализатора и скорости рециркулирования водорода. Некоторые каталитические продукты реформинга работают при низком давлении, а другие при высоком давлении. Некоторые каталитические системы реформинга непрерывно восстанавливают катализатор, некоторые средства восстанавливают все реакторы во время циклов опорожнения — закачивания — отбора, а другие берут по одному реактору из потока для регенерации катализатора.
При каталитическом реформинге исходное сырье для нафты предварительно обрабатывается с помощью водорода с целью удаления загрязнителей, таких как соединения хлора, серы и азота, которые могут отравить катализатор. Продукт очищают и фракционируют в колоннах, где оставшиеся загрязнители и газы удаляются. Десульфурированное исходное сырье нафты посылается к установке каталитического реформинга, где оно нагревается до состояния пара и пропускается через реактор с постоянным биметаллическим или металлическим катализатором, содержащим небольшое количество платины, молибдена, рения или другого благородного металла. Две основные реакции, которые происходят — производство высокооктановых ароматсоединений путем удаления водорода из молекул исходного сырья и преобразования нормальных парафинов в парафины с разветвленной цепочкой или изопарафины.
При платформинге, другом каталитическом процессе преобразования, исходное сырье, которое не было гидродесульфурировано, соединяется с оборотным газом и сначала пропускается через менее дорогой катализатор. Любые оставшиеся примеси преобразуются в сероводород и аммиак и удаляются до того, как поток проходит через платиновой катализатор. Пар, обогащенный водородом, рециркулирует с целью замедления реакций, которые могут отравлять катализатор. Продукт реактора разделается на жидкий продукт реформинга, который посылается к колонне отпаривания, и газ, который сжимается и рециркулирует. (См. Рис. 14)
Рис. 14 Процесс каталитического реформинга

Необходимо контролировать горячие участки во время запуска. Должны быть предприняты меры предосторожности, чтобы не разрушить или раздробить катализатор при его загрузке, так как мелкие частицы могут закупорить экраны рефоринг-установки. Необходимо соблюдать меры предосторожности против пыли, если требуется регенерация или замена катализатора. Небольшие выбросы угарного газа и сероводорода могут иметь место при регенерации катализатора.
Водная промывка должна быть осуществлена в реформинг-установках там, где произошло загрязнение стабилизатора вследствие образования хлорида аммония и солей железа. Хлорид аммония может образовываться в теплообменниках с предварительной обработкой и может вызвать коррозию и загрязнение. Хлорид водорода из гидрирования соединений хлора может сформировать кислоты или соль хлорида аммония. Существует потенциальная опасность аварийных выбросов алифатических и ароматических компонентов нефти, технического газа, обогащенного водородом, сероводорода и бензола с образованием углеводородного облака с последующим объемным взрывом.
Изомеризация
Изомеризация преобразовывает n-бутан, n-пентан и n-гексан в соответствующие изопарафины. Некоторые из нормальных компонентов парафина с прямой цепочкой легкой нафты прямого погона имеют низкое октановое число. Они могут быть преобразованы в высокооктановые изомеры с разветвленной цепочкой путем перегруппирования связей между атомами без изменения числа или видов атомов. Изомеризация подобна каталитическому реформингу в том, что углеводородные молекулы перегруппируются, но в отличие от каталитического реформинга, изомеризация только преобразует нормальные парафины в изопарафины. Изомеризация использует другой катализатор, нежели каталитический реформинг.
Два различных процесса изомеризации — изомеризация бутана () и пентана/гексана. ().
Изомеризация бутана () производит исходное сырье для алкилирования. Низкотемпературный процесс использует высокоактивный хлорид алюминия или хлористо-водородный катализатор без нагревателей с целью изомеризации n-бутана. Обработанное и предварительно нагретое исходное сырье добавляется к оборотному потоку, смешивается с HCl и пропускается через реактор (см. Рис. 15).
Рис. 15 Изомеризация

Изомеризация пентана/гексана используется для увеличения октанового числа путем преобразования n-пентана и n-гексана. В типичном процессе изомеризации пентана/гексана осушенное и десульфурированное исходное сырье смешивается с небольшим количеством органического хлорида и оборотным водородом и нагревается до температуры реактора. Затем оно проходит через катализатор, поддерживаемый металлом, в первый реактор, где бензол и олефины подвергаются гидрированию. Затем оно подается к реактору изомеризации, где парафины преобразуются в изопарафины путем каталитической изомеризации, охлаждаются и подаются к сепаратору. Газ и водород в сепараторе отделяется и с подпитывающим водородом рециркулирует. Жидкость нейтрализуется с помощью щелочных материалов и посылается к колонне отпаривания, где хлористый водород восстанавливается и рециркулирует. (См. Рис. 16)
Рис. 16 Процесс изомеризации

Если исходное сырье не полностью осушено и десульфурировано, существует возможность образования кислоты, приводящая к отравлению катализатора и коррозии металла. Нельзя позволить, чтобы вода или пар попали в те места, где присутствует хлористый водород. Необходимо предпринять меры предосторожности для предотвращения проникновения HCl в канализационные коллекторы и дренажи. Имеется потенциальная опасность воздействия изопентана и паров и жидкости алифатической нафты, а также технического газа, обогащенного водородом, соляной кислоты и хлористого водорода, и пыли, когда используется твердый катализатор.
Производство водорода (паровой реформинг)
Водород высокой чистоты (от 95 до 99 %) необходим для процессов гидросульфурации, гидрирования, гидрокрекинга и нефтехимических процессов. Если производится не достаточное количество водорода как побочного продукта процессов нефтепереработки для удовлетворения общих потребностей нефтеперерабатывающего завода, требуется дополнительное производство водорода.
При реформинге водородного пара десульфурированные газы смешиваются с перегретым паром и преобразуются в трубах, содержащих базовый никелевый катализатор. Газ реформинга, который состоит из пара, водорода, угарного газа и двуокиси углерода, охлаждается и пропускается через преобразователи, где угарный газ вступает в реакцию с паром с целью образования водорода и двуокиси углерода. Двуокись углерода очищается в скрубберах растворами амина и выбрасывается в атмосферу, когда растворы реактивируются путем нагревания. Любой угарный газ, остающийся в потоке продукта, преобразуется в метан. (См. Рис.17)
Рис. 17 Процесс парового реформинга

Должны быть проведены инспектирования и испытания там, где существует возможность поломки регулирующего клапана вследствие присутствия загрязнителей в водороде. Должны контролироваться переносы потоков из щелочных скрубберов с целью предотвращения коррозии в подогревателях, и должно быть предотвращено поступление хлоридов от исходного сырья или паровой системы в трубы реформинг-установки и загрязнение катализатора. Воздействия могут произойти в результате загрязнения конденсата техническими материалами, такими как щелочи и соединения амина, и из-за излишнего водорода, угарного газа и двуокиси углерода. Существует потенциальная возможность ожогов горячим газом и перегретым паром, если происходит выброс.
Разнообразные процессы нефтепереработки
Процессы получения базовых компонент смазочного материала и парафина
Смазочные материалы и парафин очищаются от различных фракций атмосферной и вакуумной перегонки. С изобретением вакуумной перегонки было обнаружено, что из воскового остатка получают лучший смазочный материал, чем из животных жиров, которые использовались на начальном этапе развития современной технологии переработки углеводородного смазочного материала, чья основная цель состоит в том, чтобы устранить нежелательные продукты, такие как асфальт, сульфонированные ароматсоединения и парафиновые и изопарафиновые воски из остаточных фракций с целью производства высококачественных смазочных материалов. Этого достигают с помощью ряда процессов, включая процессы деасфальтизации, извлечения растворителем и разделения и обработки, такие как депарафинизации и гидроочистки. (См. Рис. 18)
Рис. 18 Процесс производства смазочного масла и парафина

Выделенный из гудрона жидким пропаном продукт объединяют со смазочным материалом прямого погона, предварительно нагретым и извлеченным из исходного сырья с помощью растворителя компонентом, называемым рафинатом. В типичном процессе извлечения используют фенол в качестве растворителя. Исходное сырье смешивается с фенолом в секции обработки при температурах ниже 204 °C. Фенол затем отделяется от рафината и рециркулирует. Рафинат может затем быть подвержен действию другого процесса извлечения, который использует растворитель фурфурал для отделения ароматических соединений от неароматических углеводородов и получают светлоокрашенные рафинаты с улучшенными показателями вязкости, окисления и термостойкости.
Депарафинизированный рафинат может также подвергнуться дальнейшей обработке с целью улучшения качества базовых компонент. Глиняные адсорбенты используются для удаления окрашенных в темный цвет, неустойчивых молекул из базовых компонентов смазочных материалов. Альтернативный процесс, гидроочистка смазочного масла, пропускает горячий депарафинизированный рафинат и водород через катализатор, который слегка изменяет структуру молекул, создавая в результате светлоокрашенный продукт с улучшенными характеристиками. Обрабатываемые базовые компоненты затем смешиваются и/или соединяются с добавками с целью удовлетворения требуемым физическим и химическим характеристикам моторных масел, промышленных смазочных материалов и масел для металлообработки.
Два различных типа парафина извлекают из сырой нефти — парафин, произведенный из дистиллятных компонент, и микрокристаллический парафин, произведенный из остаточных базовых компонент. Рафинат из установки извлечения содержит значительное количество парафина, который может быть удален путем извлечения растворителем и кристаллизацией. Рафинат смешивается с растворителем, таким как пропан, метилэтилкетон (MEK) и смесью толуола или метилизобутилкетона (MIBK), и предварительно охлаждается в теплообменниках. Температура кристаллизации достигается с помощью испарения пропана в холодильной установке и резервуарах для подачи к фильтру. Парафин непрерывно удаляется с помощью фильтров и охлажденного растворителя. Растворитель восстанавливается из депарафинизированного рафината путем мгновенного вскипания и отгонки низкокипящих фракций водяным паром, и рециркулирует.
Парафин нагревается с помощью горячего растворителя, охлаждается, фильтруется и окончательно промывается с целью удаления всех следов нефти. Перед использованием парафина, он может быть гидроочищен с целью улучшения запаха и устранения всех следов ароматсоединений с тем чтобы, парафин мог использоваться при изготовлении продовольствия. Депарафинизированный рафинат, который содержит небольшие количества парафинов, нафтенов и некоторые ароматсоединения, может далее обрабатываться для использования в качестве базовых компонентов смазочных материалов.
Контроль над температурой установки обработки имеет важное значение с целью предотвращения фенольной коррозии. Парафин может засорять коллектор или системы дренажа и мешать обработке сточных вод. Существует опасность воздействия технических растворителей, таких как фенол, пропан, метилэтилкетон и смеси толуола или метилизобутилкетона. Вдыхание газообразных углеводородов и паров, ароматической нафты, содержащей бензол, сероводорода и технического газа, обогащенного водородом, представляет опасность.
Производство асфальта
После первичных операций дистилляции, асфальт — часть остаточного материала, требует дальнейшей обработки для получения необходимых характеристик для его заключительного использования. Асфальт, идущий на изготовление кровельных материалов, производится воздушной продувкой. Остаток нагревается в трубе почти до температуры вспышки и загружается в колонну продувки, куда горячий воздух нагнетается в течение заданного периода времени. Дегидрирование асфальта образует сероводород, а окисление — двуокись серы. Пар используется для защиты верхней части башни с целью захвата загрязнителей и пропускается через скруббер с целью конденсирования углеводородов.
Вакуумная перегонка обычно используется для производства дорожного асфальта. Остаток нагревается и загружается в колонну, где используется вакуум для предотвращения крекинга.
Конденсируемый пар различных процессов производства асфальта будет содержать ничтожные количества углеводородов. Любое нарушение вакуума может привести к поступлению атмосферного воздуха и последующему пожару. При производстве асфальта повышение температуры дна башни вакуумной перегонки с целью улучшения КПД может образовывать метан путем термического крекинга. Это создает пары в резервуарах хранения асфальта, где температуры находятся в диапазоне воспламенения. Воздушная продувка может создавать многоядерные ароматсоединения (то есть полициклические ароматические углеводороды). Конденсируемый пар процесса производства асфальта с помощью воздушной продувки может также содержать различные загрязнители.
Очистка углеводородов от активной серы и процессы обработки
Многие продукты, такие как термические нафты, полученные в результате легкого крекинга, коксования или термического крекинга, и высокосернистые нафты и дистилляты, полученные в результате перегонки сырой нефти, требуют обработки для использования в смесях бензина и топливных смесях. Продукты перегонки, включая керосин и другие дистилляты, могут содержать ничтожные количества аромосоединений, а нафтены и базовые компоненты смазочных материалов могут содержать воск. Эти нежелательные вещества удаляются либо на промежуточных стадиях нефтепереработки, либо до посылки продуктов на смешивание и хранение путем таких процессов очистки, как извлечение растворителем и депарафинизация растворителем. Ряд промежуточных и конечных продуктов, включая средние дистилляты, бензин, керосин, топливо для реактивных двигателей и сернистые газы, должны быть высушены и очищены от активной серы.
Обработка выполняется либо на промежуточной стадии процесса переработки, либо перед посылкой конечных продуктов на смешивание и хранение. Обработка удаляет из нефти загрязняющие вещества, такие как органические соединения, содержащие серу, азот и кислород, растворенные металлы, неорганические соли и растворяемые соли, растворенные в эмульгированной воде. Обрабатывающие материалы — это кислоты, растворители, щелочи и окисляющие и адсорбционные агенты. Обработка кислотой используется для улучшения запаха, цвета и других свойств базовых компонентов смазки для предотвращения коррозии и загрязнения катализатора и для улучшения стабильности продукта. Сероводород, который удаляется из “сухого” сернистого газа с помощью поглощающего агента (диэтиноламина), испаряется, используется как топливо или преобразуется в серу. Тип обработки и тип агентов зависит от базовых компонент сырой нефти, промежуточных процессов и спецификации конечного продукта.
Процессы обработки растворителем
С помощью растворителей выделяют ароматосоединения, нафтены и примеси из потоков продуктов путем растворения или осаждения. Извлечение растворителем предотвращает коррозию, защищает катализатор в последующих процессах и улучшает конечные продукты путем удаления ненасыщенных, ароматических углеводородов из базовых компонент смазки и смазочного материала.
Исходное сырье высушивается и подвергается непрерывной противоточной обработке растворителем. В одном процессе исходное сырье моется с помощью жидкости, в которой вещества, которые должны быть удалены, лучше растворяются, чем в желанном результирующем продукте. В другом процессе добавляются отобранные растворители, вызывая выпадение примесей в осадок вне продукта. Растворитель отделяется от потока продуктов нагреванием, испарением или фракционированием, при этом ничтожные количества остатка впоследствии удаляются из рафината адсорбцией пара или вакуумной отпаркой. Электрическое осаждение может использоваться для разделения неорганических соединений. Затем растворитель восстанавливается, чтобы снова использоваться в процессе.
Типичные химические вещества, используемые в процессе извлечения, включают широкий набор кислот, щелочей и растворителей, включая фенол и фурфурал, а также окисляющие и адсорбционные агенты. В адсорбционном процессе высоко пористые твердые материалы собирают жидкие молекулы на своих поверхностях. Выбор определенных процессов и химических веществ зависит от характера обрабатываемого исходного сырья, присутствующих загрязняющих веществ и требований, предъявляемых к конечному продукту. (См. Рис.19)
Рис. 19 Процесс извлечения растворителем

Депарафинизация растворителем устраняет воск или из дистиллята, или из остаточных базовых компонент, и может применяться на любой стадии процесса нефтепереработки. При депарафинизации растворителем исходное сырье воска охлаждается в теплообменнике и холодильнике, а растворитель добавляется, чтобы помочь сформировать кристаллы, которые удаляются вакуумной фильтрацией. Депарафинизированная нефть и растворитель оплавляются и отпариваются, а воск проходит через водный отстойник, установку для ректификации растворителя и башню оплавления. (См. Рис. 20)
Рис. 20 Процесс депарафинизации растворителем

Деасфальтизация растворителем отделяет тяжелые фракции нефти для производства тяжелых смазочных материалов, исходного сырья для каталитического крекинга и асфальта. Исходное сырье и жидкий пропан (или гексан) перекачиваются к башне извлечения, при этом смеси, температуры и давления точно контролируются. Разделение происходит в замыкателе с вращающимся диском на основе разностей растворимости. Продукты затем испаряются и подвергаются адсорбционной обработке паром для регенерации пропана с целью его последующего рециркулирования. Деасфальтизация растворителем также удаляет серу и соединения азота, металлы, углеродистые остатки и парафины из исходного сырья. (См. Рис. 21)
Рис. 21 Процесс деасфальтизации растворителем

Соображения по поводу здоровья и безопасности
При депарафинизации растворителем нарушение вакуума (подсосы воздуха) создает потенциальную опасность пожара и взрыва, позволяя воздуху войти в установку. Существует потенциальная возможность вредного воздействия на персонал депарафинизирующих паров растворителя, смеси метилэтилкетона и толуола. Хотя извлечение растворителем — замкнутый процесс, имеется потенциальная возможность воздействия канцерогенных полициклических ароматических углеводородов, технологического масла и растворителей извлечения, таких как фенол, фурфурал, гликоль, метилэтилкетон, амины и другие химические вещества во время обработки и операций.
Деасфальтизация требует точного контроля температуры и давления с целью избежания осадка. Кроме того, влажность, избыточный растворитель или падение рабочей температуры может вызывать пенообразование, которое влияет на контроль над температурой продукта и может создавать осадок. Контакт с горячими нефтяными потоками явиться причиной ожогов кожи. Существует потенциальная возможность воздействий горячих нефтяных потоков, содержащих канцерогенные полициклические ароматические соединения, сжиженный пропан и пары пропана, сероводород и двуокись серы.
Процессы гидроочистки
Гидроочистка используется для удаления приблизительно 90 % загрязняющих веществ, включая азот, серу, металлы и ненасыщенные углеводороды (олефины) из жидких нефтяных фракций, таких как бензин прямого погона. Гидроочистка подобна гидрокрекингу в том, что и водород и катализатор используется для обогащения водородом исходного сырья олефинов. Однако, степень насыщения не столь велика, как при гидрокрекинге. Обычно, гидроочистка выполняется до начала таких процессов, как каталитический реформинг с тем, чтобы катализатор не был загрязнен необработанным исходным сырьем. Гидроочистка также выполняется перед каталитическим крекингом с целью уменьшения серы и улучшения выхода продукта и для модернизации бензина средней перегонки в очищенный керосин, дизельное топливо и мазуты, используемые для обогрева.
Процессы гидроочистки различаются в зависимости от исходного сырья и катализаторов. Гидродесульфурация удаляет серу из керосина, восстанавливает ароматосоединения, уменьшает характеристики формирования смолы и насыщает олефины. Гидрореформинг — процесс дегидрирования, используемый для восстановления избыточного водорода в производстве высокооктанового бензина. Гидроочищенные продукты смешиваются или используются в качестве исходного сырья для каталитического реформинга.
При каталитической гидросульфурации исходное сырье деаэрируется, смешивается с водородом, предварительно нагревается и прокачивается под высоким давлением через реактор с фиксированным катализатором. Водород отделяется и рециркулирует, а продукт стабилизируется в колонне отпаривания, где легкие фракции удаляются.
В течение этого процесса соединения серы и азота, представленные в исходном сырье, преобразуются в сероводород () и аммиак (). Остаточный сероводород и аммиак удаляются либо адсорбцией паром, комбинированным разделением при высоком и низком давлении или промывкой амином, которая восстанавливает сероводород в высоко сконцентрированном потоке, пригодным для преобразования в элементарную серу. (См. Рис.22 и Рис. 23)
Рис. 22 Процесс гидродесульфурации

Рис. 23 Схема процесса гидродесульфурации

При гидроочистке содержание сероводорода в исходном сырье должно быть строго сведено до минимума с целью уменьшения коррозии. Хлористый водород может образоваться и конденсироваться как соляная кислота в низкотемпературных частях установки. Гидросульфид аммония может формироваться в высокотемпературных установках высокого давления. В случае выброса существует опасность воздействия паров ароматической компоненты, которая содержит бензол, сероводород, водородный газ или аммиак, если происходит утечка сернистой воды или ее разлив. Фенол может также присутствовать, если обрабатывается исходное сырье с высокой температурой кипения.
Чрезмерно большое время контакта и/или температура приводит к коксованию установки. Следует предпринять меры предосторожности при разгрузке катализатора из установки коксования с целью предотвращения возгорания сульфида железа. Такой катализатор должен быть охлажден ниже 49 °C перед удалением, или помещен в бункеры, которые являются инертными по отношению к азоту, где он может быть охлажден перед дальнейшей обработкой. Специальные антипенные добавки могут использоваться для предотвращения отравления катализатора в результате переноса силикона в исходном сырье установки для коксования.
Другие процессы очистки от активной серы и обработки
Процессы обработки, сушки и очистки от активной серы используется для удаления примесей из компонент смешивания. (См. Рис. 24)
Рис. 24 Процессы очистки от активной серы и обработки

Процессы очистки от активной серы использует воздух или кислород. Если избыток кислорода входит в эти процессы, возможно возникновение пожара в отстойнике вследствие образования статического электричества. Существует потенциальная опасность воздействия сероводорода, двуокиси серы, щелочей (гидрооксид натрия), использованной щелочи, использованного катализатора (Merox), пыли катализатора и агентов очистки от активной серы (углекислый натрий и бикарбонат натрия).
Установки амина (обработка кислым газом)
Сернистый газ (топливный газ, образующийся в результате таких процессов, как каталитический крекинг и гидроочистка, который содержит сероводород и двуокись углерода) должен обрабатываться до того, как он может быть использован в качестве нефтезаводского топлива. Установки амина удаляют кислотные загрязняющие вещества из потоков сернистого газа и углеводорода. В установках амина газовые и жидкие углеводородные потоки, содержащие двуокись углерода и/или сероводород загружаются в башню газового поглощения или жидкий контактор, где кислотные загрязнители поглощаются текущими в противоположных направлениях растворами амина — моноэтаноламином (MEA), диэтаноламином (DEA) или метилдиэтаноламином (MDEA). Отпаренный газ или жидкость удаляются из верхней части, а амин посылается к регенератору. В регенераторе сернистые компоненты отпариваются под действием тепла и кипячения и удаляются, в то время как амин рециркулирует.
С целью минимизации коррозии должен быть установлен правильный порядок работы, а температуры дна регенератора и кипятильника должны контролироваться. Для предотвращения окисления амина кислород не должен быть допущен в систему. Существует потенциальная возможность вредного воздействия на персонал соединений амина (то есть, MEA, DEA, MDEA), сероводорода и двуокиси углерода.
Очистка от активной серы и сушка
Очистка от активной серы (удаление меркаптана) осуществляет обработку сернистых соединений (сероводород, тиофен и меркаптан) с целью улучшения цвета, запаха и устойчивости к окислению и уменьшения концентраций двуокиси углерода в бензине. Некоторые меркаптаны удаляются путем обеспечения контакта продукта с растворимыми в воде химическими веществами (например, серная кислота), которые вступают в реакцию с меркаптанами. Щелочная жидкость (гидрооксид натрия), соединения амина (диэтаноламин) или очистка от активной серы с помощью стационарного слоя катализатора может использоваться для преобразования меркаптанов в менее нежелательные дисульфиды.
Сушка продукта (удаление воды) выполняется поглощением воды с или без адсорбционных агентов. Некоторые процессы одновременно сушат и очищают от активной серы путем адсорбции на молекулярных ситах.
Восстановление серы
Восстановление серы удаляет сероводород из потоков сернистых газов и углеводородов. Процесс Клауса (Clause) преобразует сероводород в элементарную серу с помощью термических и каталитических реакций. После сжигания сероводорода при контролируемых условиях газоотделяющие сепараторы удаляют воду и углеводороды из потоков подаваемого газа, которые затем подвергаются воздействию катализатора с целью восстановления дополнительной серы. Серный пар от сжигания и преобразования конденсируется и восстанавливается.
Обработка остаточного газа
Как окисление, так и восстановление используются для обработки остаточного газа, поступающего из установок восстановления серы, в зависимости от состава газа и экономических условий нефтеперерабатывающего завода. Окислительные процессы сжигают остаточный газ с целью преобразования всех сернистых соединений в двуокись серы, а процессы перегонки преобразуют сернистые соединения в сероводород.
Очистка от сероводорода в скруббере
Очистка от сероводорода в скруббере — основной процесс обработки исходного сырья углеводородов, используемый для предотвращения отравления катализатора. В зависимости от исходного сырья и характера загрязняющих веществ, методы десульфурации будут меняться от поглощения древесного угля, активированного при температуре окружающей среды, до высокотемпературного каталитического гидрирования, сопровождаемого обработкой окисью цинка.
Установки насыщенного и ненасыщенного газа
Исходное сырье от различных нефтеперерабатывающих установок посылается к установкам очистки газа, где бутаны и бутены удаляются с целью использования в качестве исходного сырья для алкилирования, более тяжелые компоненты посылаются для смешивания бензина, пропан восстанавливается для сжиженного нефтяного газа, а пропилен удаляется для использования в нефтепродуктах.
Установки насыщенного газа отделяют компоненты от нефтезаводских газов, включая бутаны для алкилирования, пентаны для смешивания бензина, сжиженные нефтяные газы для топлива и этан для нефтепродуктов. Имеются два различных процесса для насыщенных газов: поглощение-фракционирование и прямое фракционирование. При поглощении-фракционировании газы и жидкости от различных установок подаются к абсорберу/деэтанизатору, где и более легкие фракции отделяются поглощением регенерированного абсорбционного масла и удаляются для использования в качестве топливного газа или сырья нефтепродуктов. Остающиеся более тяжелые фракции отпариваются и посылаются в дебутанизатор, а регенерированное абсорбционное масло рециркулирует назад к абсорберу/деэтанизатору. отделяется от пентанов в дебутанизаторе, отмывается в скруббере с целью устранения сероводорода и подается к делителю для отделения пропана и бутана. Во фракционирующих колоннах отсутствует стадия поглощения. Процессы насыщенных газов зависят от исходного сырья и требований, предъявляемых к продукту.
Коррозия происходит из-за присутствия сероводорода, двуокиси углерода и других соединений, полученных в результате предварительной обработки. Потоки, содержащие аммиак, должны быть высушены перед началом изготовления. Антизагрязняющие добавки используется в поглотительном масле с целью защиты теплообменников. Ингибиторы коррозии используются для управления коррозией в верхних системах. Существует потенциальная опасность воздействия сероводорода, двуокиси углерода, гидрооксида натрия, MEA, DEA и MDEA, которые должны поступить после предварительной обработки.
Установки ненасыщенных газов восстанавливают легкие углеводороды из потоков жирного газа, идущего от каталитических крекер-установок и верхних накопителей установки замедленного коксования или приемных резервуаров фракционирования. В типичном процессе жирные газы сжимаются и обрабатываются амином с целью устранения сероводорода либо до, либо после входа во фракционирующий поглотитель, где они смешиваются в одновременном потоке дебутанизированного бензина. Легкие фракции отделяются с помощью тепла в кипятильнике, при этом обработавший газ посылается к губчатому поглотителю, а отстой посылается в бутанизатор. Часть дебутанизированного углеводорода рециркулирует, а баланс идет к делителю для разделения. Верхние газы идут к депропанизатору для использования в качестве исходного сырья установки алкилирования. (См. Рис. 25)
Рис. 25 Процесс установки ненасыщенного газа

Из-за влажного сероводорода и цианидов может иметь место коррозия в установках ненасыщенных газов, которые обрабатывают исходное сырье каталитического крекинга с флюидизированным катализатором. Существует возможность коррозии вследствие воздействия сероводорода и отложений в секциях высокого давления газовых компрессоров от аммиачных соединений, когда исходное сырье поступает от установки замедленного коксования или каталитического крекинга с термофором. Существует потенциальная возможность воздействия сероводорода и таких соединений, как MEA, DEA и MDEA.
Процессы смешивания базовых компонент бензина, дистиллятного топлива, смазочного материала
Смешивание — физическое смешивание ряда различных жидких углеводородных фракций с целью производства конечных продуктов с определенными желательными характеристиками. Продукты могут быть смешаны в газопроводном потоке при движении по трубопроводам или партиями путем смешивания в резервуарах и сосудах. Смешивание в газопроводе базовых компонент бензина, дистиллятов, топлива для реактивных двигателей и смазочного материала выполняется путем впрыскивания пропорциональных количеств каждого компонента в основной поток, где турбулентность содействует полному смешиванию.
Бензины — смеси продуктов реформинга, алкилатов, бензина прямого погона, термически и каталитически крекированных бензинов, бензина установки коксования, бутана и соответствующих добавок.
Мазут и дизельное топливо — смеси дистиллятов и оборотной нефти, а топливо для реактивных двигателей может быть дистиллятом прямого погона или смешанным с нафтой.
Смазочные материалы — смеси очищенных базовых компонент
Асфальт смешивается из различных остаточных компонент в зависимости от предназначения.
Добавки часто добавляются в бензин и моторные топлива во время или после смешивания для обеспечения определенных свойств, несвойственных нефтяным углеводородам. Эти добавки включают средства повышения октанового числа, антидетонационные агенты, антиокислители, ингибиторы смолообразования, ингибиторы пенообразования, ингибиторы коррозии, очистители карбюратора (углерода), детергенты для очистки впрыскивателя, одоризаторы дизеля, цветные красители, антистатик дистиллята, окислители бензина, такие как метанол, этанол и метилтерциарибутилэфир, деактиваторы металла и другие.
Операции смешивания партиями и в газопроводе требует строгого контроля для поддержания желаемого качества продукции. Разлитые вещества должны быть очищены, а места утечек починены во избежание подскальзываний и падений. С добавками, содержащимися в барабанах и мешках, следует обращаться должным образом во избежание напряжения и воздействий. Существует потенциальная опасность контакта с опасными добавками, химическими веществами, бензолом и другими материалами во время смешивания, и требуются соответствующие технические контрольные приборы, индивидуальные средства защиты и соблюдение должных мер гигиены для сведения воздействий к минимуму.
Вспомогательные операции нефтепереработки
Вспомогательные процессы, поддерживающие процессы нефтепереработки, включают те, которые обеспечивают тепло и охлаждение процесса; обеспечивают сброс давления; эмиссии контрольного воздуха; собирают и обрабатывают сточные воды; обеспечивают коммунальные услуги, такие как электроэнергия, пар, воздух и газы для установки; и накачивают, запасают, хранят и охлаждают техническую воду.
Обработка сточных вод
Сточные воды нефтеперерабатывающего завода включают конденсируемый пар, отпаривающую воду, использованные щелочные растворы, продувку охлаждающей башни и котла, промывочную воду, воду для нейтрализации щелочных и кислотных отходов и другую воду, связанную с процессом. Сточные воды обычно содержат углеводороды, растворенные материалы, взвешенные вещества, фенолы, аммиак, сульфиды и другие вещества. Обработка сточных вод применяется для технической воды, воды побега и канализационной воды до их сброса. Эти обработки могут требовать получения лицензий, или на заводе должно осуществляться рециркулирование.
Существует опасность возникновения пожара, если пары, идущие от сточных вод, содержащие углеводороды, достигают источника возгорания во время процесса обработки. Существует потенциальная возможность возникновения воздействий различных химических веществ и отходов производства во время взятия проб, осмотров, технического обслуживания и циклов опорожнения — закачивания — отбора.
Предварительная обработка
Предварительная обработка — начальное отделение углеводородов и твердых веществ из сточных вод. Сепараторы API (Американского нефтяного института), пластины отводного коллектора и пруды отстоя используются для устранения взвешенных углеводородов, суспензии нефти и твердых веществ путем гравитационного разделения, выравнивая и фильтрацией. Кислотные сточные воды нейтрализуются аммиаком, известью или кальцинированной содой. Щелочные сточные воды обрабатываются серной кислотой, соляной кислотой, топочным газом, обогащенным сероводородом или серой. Некоторые эмульсии «нефть в воде» сначала нагреваются для того, чтобы помочь разделить нефть и воду. Гравитационное разделение зависит от различных удельных плотностей воды и несмешивающихся шариков нефти, которое позволяет удалить свободную нефть с поверхности сточных вод.
Отпаривание сернистой воды
Вода, содержащая сульфиды, называемая сернистой водой, производится процессами каталитического крекинга и гидроочистки, и всякий раз, когда пар конденсируется в присутствии газов, содержащих сероводород.
Отпаривание используется для сточной воды, содержащей сульфиды и/или аммиак, а также используется извлечение растворителем для устранения фенолов из сточных вод. Сточные воды, которые должны рециркулировать, могут требовать охлаждения с целью удаления тепла и/или окисления путем распыления или воздушного отпаривания с целью удаления любых оставшихся фенолов, нитратов и аммиака.
Вторичная обработка
Сразу после предварительной обработки, взвешенные твердые вещества удаляются путем седиментации или с помощью флотации воздуха. Сточные воды с низкими уровнями твердых веществ экранируются или фильтруются, и агенты флокуляции могут быть добавлены, чтобы помочь разделению. Материалы с высокими адсорбционными характеристиками используются в фильтрах с неподвижным катализатором или добавляются к сточным водам для формирования суспензии, которая удаляется седиментацией или фильтрацией. Процессы вторичной обработки биологически ухудшают и окисляют растворимое органическое вещество посредством использования активированного отстоя, неаэрируемых или аэрируемых лагун, методами песчаного фильтра или анаэробными обработками. Методы дополнительной обработки используются для удаления из сточных вод нефти и химических веществ.
Третичная обработка
Третичная обработка удаляет определенные загрязнители с целью удовлетворения регулятивных требований к сбросам. Эти обработки включают хлорирование, озонирование, ионный обмен, обратный осмос, адсорбцию активированного угля и другое. Сжатый кислород можно диспергировать в потоки сточных вод с целью окисления некоторых химических веществ или удовлетворения регулятивных требования к содержанию кислорода.
Колонны охлаждения
Колонны охлаждения удаляют тепло из технической воды путем испарения и скрытой передачей тепла между горячей водой и воздухом. Есть два типа башен: с противоположными потоками и поперечными потоками.
При охлаждении в башнях с противоположными потоками горячая техническая вода перекачивается к самой верхней камере, и ей позволяют падать в башне. Многочисленные дощечки, или распыляющие сопла расположены по длине башни с целью рассеяния водного потока и содействия охлаждению. Одновременно, воздух поступает на дно башни, создавая одновременный поток воздуха в направлении, противоположном потоку воды. Башни с наведенной тягой имеют вентиляторы в отверстии выпуска воздуха. Башни с принудительной тягой имеют вентиляторы или воздуходувки во входном отверстии воздуха.
Башни с поперечными потоками вводят воздушный поток под прямым углом к потоку воды через структуру.
Оборотная охлаждающая вода должна обрабатываться с целью удаления примесей и любых растворенных углеводородов. Примеси в охлаждающей воде могут вызывать коррозию и загрязнять трубопровод и теплообменники, накипь от растворенных солей может отлагаться на трубах, а деревянные охлаждающие колонны могут быть повреждены микроорганизмами.
Вода башни охлаждения может быть загрязнена материалами процесса и побочными продуктами, включая двуокись серы, сероводород, водородный сульфид и двуокись углерода, проводя в результате к воздействиям. Существует потенциальная опасность воздействия химических веществ обработки воды или сероводорода, когда сточная вода обрабатывается вместе с охлаждающими башнями. Так как вода насыщается кислородом, чтобы не охладиться воздухом, возможности для коррозии увеличиваются. Средства предотвращения коррозии — добавка материала к охлаждающей воде, который формирует защитную пленку на трубах и других металлических поверхностях.
Когда охлаждающая вода загрязняется углеводородами, воспламеняющиеся пары могут испаряться в воздух. Если присутствуют источник возгорания или молния, может начаться пожар. Опасности возникновения пожара существуют, когда имеются относительно сухие области в башнях охлаждения с искусственной тягой горючей конструкции. Отключение электропитания вентиляторов или водяных насосов башни охлаждения могут вызвать серьезные трудности при выполнении операций процесса.
Производство пара
Пар производиться с помощью работы нагревателя и кипятильника на центральных установках производства пара и в различных установках процесса, использующих тепло топочного газа или других источников. Системы производства пара включают:
Нагреватели (печи) с их горелками и воздушной системой горения
Системы тяги или системы давления для удаления топочного газа из печи, воздуходувки для удаления сажи и системы сжатого воздуха, которые закупоривают отверстия для предотвращения утечек топочного газа
Котлы, состоящие из ряда труб, которые несут смесь воды/пара через печь, обеспечивающую максимальную передачу тепла (эти трубы находятся между барабанами распределения пара в верхней части котла и барабанами сбора воды внизу котла)
Паровые барабаны для сбора пара и направления его к супернагревателю до того, как он войдет в паровую распределительную систему.
Самая потенциально опасная операция при производстве пара — запуск нагревателя. Воспламеняющаяся смесь газа и воздуха может накопиться в результате исчезновения пламени в одной или большем количестве горелок во время выключения света. Для установок различных типов требуются различные процедуры запуска, включая очистку до выключения света и аварийные процедуры в случае ложного возгорания или исчезновения пламени горелки. Если питательная вода бежит низко, и котлы — сухие, трубы перегреваются и выходят из строя. Избыточная вода поступит в паровую распределительную систему, вызывая повреждение турбин. Котлы должны иметь непрерывные или прерывистые системы продувки с целью удаления воды из паровых барабанов и ограничения образования накипи на лопатках турбины и трубах супернагревателя. Меры предосторожности должны быть соблюдены с целью недопущения перегрева супернагревателя во время запуска и выключения. Следует предусмотреть использование альтернативных источников топлива на случай исчезновения топливного газа вследствие выключения нефтеперерабатывающей установки или аварии на заводе.
Топливо нагревателя
В нагревателях можно использовать любое топливо или любую комбинацию топлив, включая нефтезаводской газ, природный газ, мазут и измельченный каменный уголь. Нефтезаводской нерабочий газ собирается с технических устройств и объединяется с природным газом и сжиженным нефтяным газом в барабане баланса топливного газа. Барабан баланса обеспечивает постоянное давление в системе, содержание топлива с довольно устойчивой BTU -британской тепловой единицей (энергия) — и автоматическое разделение взвешенных жидкостей в газовых парах, и предотвращает перенос больших порций конденсата в распределительную систему.
Мазут — это обычно соединение нефтезаводской сырой нефти и остатков прямого погона и крекированных остатков, смешанных с другими продуктами. Система мазута поставляет топливо к нагревателям технических установок и паровым генераторам при требуемых температурах и давлениях. Мазут нагревается до температуры накачки, впитывается через грубый сетчатый фильтр на всасывающей линии, перекачивается к нагревателю, имеющему контроль температуры, а затем через тонкий сетчатый фильтр перед сгоранием. Котлы сепаратора, находящиеся в технических установках, используются для удаления жидкостей из топливного газа перед сгоранием.
В одном примере генерации тепла технической установкой, котлы с угарным газом (CO) восстанавливают тепло в установках каталитического крекинга, так как угарный газ в топочном газе сжигается до полного сгорания. В других процессах установки восстановления отработавшего тепла используют тепло из топочного газа для создания пара.
Распределение пара
Пар обычно генерируется нагревателями и котлами, объединенными в одну установку. Пар покидает котлы при самом высоком давлении, необходимом для технических установок или электрического генератора. Давление пара затем понижается в турбинах, которые приводят в действие технические насосы и компрессоры. Когда нефтезаводской пар также используется для запуска генератора паровых турбин, пар должен быть произведен при значительно более высоком давлении, чем требуется для технического пара. Паровая распределительная система состоит из клапанов, крепежных приспособлений, трубопроводов и соединений, которые подходят для давления транспортируемого пара. Большинство паров, используемых при нефтепереработке, конденсируется в воду в теплообменниках и многократно используется как питательная вода котла, или сбрасываются в систему обработки сточных вод.
Паровая питательная вода
Поставка питательной воды — важная часть производства пара. Должно всегда иметься так много прудов воды, входящей в систему производства пара, как и прудов пара, покидающих ее. Вода, используемая при производстве пара, должна быть свободной от загрязнителей, включая минералы и растворенные примеси, которые могут повредить системе или повлиять на работу. Взвешенные материалы, такие как ил, сточные воды и масло, которые формируют накипь и отстой, коагулируются или отфильтровываются из воды. Растворенные газы, особенно двуокись углерода и кислород, которые вызывают коррозию котла, удаляются путем деаэрации и обработки. Растворенные минералы, такие как металлические соли, кальций и карбонаты, которые вызывают накипь, коррозию и отложения на лопатках турбины, обрабатываются известью или кальцинированной содой с целью выпадения осадка из воды. В зависимости от характеристик, питательная вода котла может быть обработана путем очистки, седиментации, фильтрации, ионного обмена, деаэрации и внутренней обработки. Оборотная охлаждающая вода должна также обрабатываться с целью удаления углеводородов и других загрязнителей.
Технические нагреватели, теплообменники и охладители
Технические нагреватели и теплообменники предварительно нагревают исходное сырье в башнях перегонки и в процессах нефтепереработки до температур реакции. Основная часть тепла, поступающего в технические установки, идет от нагревателей, находящихся в установках подогрева сырой нефти и реформинг-установках, от установок коксования и кипятильников с большой колонной, которые подпитываются нефтезаводским или природным газом, дистиллятом и остаточной нефтью. Нагреватели обычно разрабатываются для определенных технологических операций, и большинство из них имеют либо цилиндрическую вертикальную конструкцию, либо конструкцию коробочного типа. Теплообменники используют пар или горячий углеводород, передаваемый из других секций процесса для подвода тепла.
Тепло также удаляется из некоторых процессов с помощью установок обмена воздуха и воды, вентиляторов, охладителей газа и жидкости и верхних конденсаторов или путем передачи тепла другим системам. Основная механическая паровая компрессорная система охлаждения разработана для обслуживания одной или более установок и включает испаритель, компрессор, конденсатор, контрольные приборы и трубопровод. Вода, смесь спирта/воды или различные растворы гликоля являются типичными хладагентами.
Требуются средства обеспечения хорошей тяги или очистки паром для уменьшения возможностей взрывов, когда в печах нагревателя возникает молния. Требуются определенные процедуры запуска и на случай аварийной ситуации для каждого типа установки. Если искра попадает на вентиляторы, они могут выйти из строя вследствие перегрева. Если из-за утечки воспламеняющийся продукт покидает теплообменник или охладитель, может случиться пожар.
Следует предпринять меры предосторожности для обеспечения, чтобы давление было удалено из труб нагревателя перед снятием любой крышки или заслонок крепежа. Следует предусмотреть сброс давления в системах труб теплообменника на случай, если они перекрываются, будучи заполненными жидкостью. Если контрольные приборы выходят из строя, может случиться колебание температуры и давления на любой стороне теплообменника. Если трубы теплообменника выходят из строя, а давление процесса становится больше давления нагревателя, продукт может войти в нагреватель, заставив поток жидкости процесса течь вниз. Если давление становится меньше, поток нагревателя может войти в технический поток жидкости. Если в жидких или газовых охладителях прекращается циркуляция, повышенная температура продукта может повлиять на операции нисходящего потока, требуя сброса давления.
В зависимости от топлива, технической операции и конструкции установки, имеется потенциальная опасность воздействия сероводорода, угарного газа, углеводородов, отстоя питательной воды парового котла и химических веществ обработки воды. Нужно избегать контакта кожи с продувкой котла, которая может содержать фенольные соединения. Существует возможность воздействия излучаемого тепла, перегретых паровых и горячих углеводородов.
Системы сброса давления и системы вспышки
Технические контрольные приборы, включенные в процессы, предусматривают уменьшение концентраций воспламеняющихся паров вентиляцией, разбавлением и инерцией. Нагнетание давления используется для поддержания давления диспетчерских выше атмосферного с целью уменьшения возможности вхождения паров. Предусматриваются системы сброса давления для контроля над парами и жидкостями, которые выбрасываются, приборами сброса давления и продувками. Сброс давления является автоматическим, запланированным выбросом, когда рабочее давление достигает предварительно определенного уровня. Продувка обычно относится к преднамеренному выбросу материала, такому как продувки от запусков технической установки, продувки печей, выключения и аварии. Сброс давления пара — быстрое удаление паров из баков высокого давления в случае аварийной ситуации. Это может быть выполнено путем использования разрывной диафрагмы, обычно установленной при более высоком давлении, чем предохранительный клапан.
Предохранительные клапаны
Предохранительные клапаны, используемые для контроля давлений воздуха, пара, газа и углеводородного пара и жидкости, открываются соответственно увеличению давления по сравнению с нормальным рабочим давлением. Предохранительные клапаны, разработанные, прежде всего, для выпуска больших объемов пара, обычно открываются полностью. Избыточное давление, необходимое для открытия предохранительных клапанов для жидкостей, где не требуется большой крупный сброс, увеличивается, когда клапан поднимается вследствие повышенной упругости пружины. Контролируемые оператором предохранительные клапаны с увеличенной до шести раз пропускной способностью по сравнению с обычными предохранительными клапанами используются там, где требуются более герметичное уплотнение и большие сбросы. Нелетучие жидкости обычно откачиваются в системы разделения нефти/воды и восстановления, а летучие жидкости посылаются в установки, работающие при более низком давлении.
Вспышки (сжигание на факеле)
Обычные закрытые системы сброса давления и вспышек включает предохранительные клапаны и линии от технических установок для сбора стоков, барабаны сепаратора для разделения паров и жидкостей, изолирующие пласты и/или продувочный газ для защиты от обратного зажигания и систему вспышки и воспламенителя, которая сжигает пары, если сброс прямо в атмосферу не разрешается. Пар может быть взбрызнут на факельный наконечник с целью уменьшения видимого дыма.
Нельзя допускать сброс жидкостей в систему сброса пара. Барабаны сепаратора вспышки и вспышки должны быть достаточно большими для обработки сбросов на случай аварийной ситуации, и барабаны требуют сброса в случае избыточного давления. Обеспечьте клапаны сброса давления там, где существует потенциальная возможность избыточного давления в процессах нефтепереработки по следующим причинам:
потеря охлаждающей воды, возможно приводящая к значительному повышению давления в конденсаторах, в свою очередь, увеличивая давление в технических установках
быстрое выпаривание и увеличение давления от впрыскивания жидкости с более низкой температурой кипения, включая воду, в резервуар, работающий при более высоких температурах
расширение пара и результирующее избыточное давление вследствие перегретого пара, неправильного срабатывания нагревателей
поломка автоматических контрольных приборов, закрытых выпускных отверстий, выход из строя теплообменников, и т.д.
внутренний взрыв, химическая реакция, тепловое расширение, накопленные газы, и т.д.
потеря орошения, вызывающая повышение давления в колоннах перегонки.
Так как количество орошения воздействует на объем паров, покидающих колонну перегонки, исчезновение объема вызывают падение давления в конденсаторах и подъем давления в колоннах перегонки.
Важное значение имеет техническое обслуживание, потому что необходимо, чтобы клапаны хорошо работали. Общие проблемы работы клапанов следующие:
невозможность открытия при установленном давлении вследствие закупорки входного или выходного отверстий клапана или из-за коррозии, не позволяющей хорошо функционировать держателю диска и направляющим устройствам
невозможность обратной установки на место после открытия вследствие загрязнения, коррозии или отложений на месте или движущихся частях, или из-за наличия твердых веществ в газовом потоке, режущем диск клапана
вибрация и преждевременное открытие из-за того, что рабочее давление находиться слишком близко к контрольной температуре клапана.
Коммунальные услуги
Вода. В зависимости от места и ресурсов сообщества, нефтеперерабатывающие заводы могут использовать поставки общественной воды для питья и технической воды или могут иметь насос и обрабатывать свою собственную питьевую воду. Обработка может включать широкий диапазон требований — от обессоливания до фильтрации, хлорирования и проверки.
Сточные воды. Также, в зависимости от наличия общественных или других частных заводов обработки, нефтеперерабатывающие заводы могут быть вынуждены обеспечивать получение разрешений, сбор, обработку и сброс своих бытовых отходов.
Электроэнергия. Нефтеперерабатывающие заводы или получают электричество из внешних источников или производят свое собственное, используя электрические генераторы, приводимые в действие паровыми турбинами или газовыми двигателями. Площади классифицируются согласно типу электрической защиты, требуемой для предотвращения искр от воспламеняющих паров или ограничения взрыва внутри электрооборудования. Электрические подстанции, которые обычно размещаются в неклассифицированных областях, далеко от источников воспламеняющегося углеводородного пара или пульверизатора воды башни охлаждения, содержат трансформаторы, сетевые рубильники и переключатели схем питания. Подстанции подают энергию к распределительным станциям в пределах площадей технических установок. Распределительные станции могут находиться в классифицированных областях, при условии, что электрические требования по классификации выполнены. Распределительные станции обычно используют заполненный жидкостью трансформатор, имеющий маслонаполненный разъединитель или воздушный разъединитель.
Обычные меры электрической предосторожности, включая сухой пол, предупреждающие надписи “высокое напряжение” и защиту, должны иметь место с целью защиты от смерти от электрического удара. Наемные работники должны быть ознакомлены с процедурами безопасной работы с электричеством на нефтеперерабатывающем заводе. Блокировки/отключения и другие соответствующие безопасные действия должны быть осуществлены для предотвращения подачи питания во время выполнения работ на высоковольтном электрооборудовании. Могут иметь место опасные воздействия при работе около трансформаторов и переключателей, которые содержат диэлектрическую жидкость, требующую соблюдения специальных мер предосторожности при обращении с нею. Эти предметы обсуждаются более подробно в другом месте в этой Энциклопедии.
Работа турбины, газового и воздушного компрессора
Воздушные и газовые компрессоры
Вытяжная вентиляция и системы подачи воздуха нефтеперерабатывающего завода спроектированы для захвата или разбавления газов, дыма, пыли и паров, которые могут загрязнять рабочие места или внешнюю атмосферу. Захваченные загрязнения подвергают утилизации, если возможно, или направляют к системам сброса после того, как их очистили или сожгли. Системы подачи воздуха включают компрессоры, охладители, воздухосборники, воздушные сушки, контрольные приборы и распределительные трубопроводы. Вентиляторы также используются для обеспечения воздуха для некоторых процессов. Воздух установки предусматривается для работы пневматических инструментов, восстановления катализатора, нагревателей, парового — воздушного коксоудаления, окисления сернистой воды, очистки бензина от активной серы, продувки асфальта и других целей. Воздух инструмента предусматривается для использования в пневматических инструментах и контрольных приборах, воздушных двигателях и соединениях продувки. Газ установки, такой как азот, предусматривается для того, чтобы сделать взрывобезопасными сосуды, и для других целей. Как поршневые, так и центробежные компрессоры используются для газа и сжатого воздуха.
Воздушные компрессоры должны быть расположены так, чтобы не происходило всасывания воспламеняющихся паров или коррозионных газов. Существует потенциальная возможность возникновения пожара, если имеют место утечки в газовых компрессорах. Для предотвращения выбросов жидкостей в газовые компрессоры требуются барабаны сепаратора. Если газы загрязняются твердыми материалами, необходимы сетчатые фильтры. Выход из строя автоматических контрольных приборов компрессора будет влиять на процессы. Если максимальное давление может потенциально превысить расчетное давление оборудования или компрессора, нужно обеспечить сброс давления. Требуется защита подвергаемых воздействию движущихся частей на компрессорах. Здания компрессора должны быть должным образом электрически классифицированы, и должна быть предусмотрена хорошая вентиляция.
Там, где воздух установки используется как вспомогательный для воздуха инструмента, межсоединения должны быть расположены выше системы воздушной сушки инструмента с целью предотвращения загрязнения инструментов влагой. Альтернативные источники подачи воздуха инструмента, такие как использование азота, могут быть необходимы в случае пробоев и выхода компрессора из строя. Примените соответствующую защиту с тем, чтобы газ, воздух установки и воздух инструмента не использовались в качестве источника дыхания или для создания давления в системах питьевой воды.
Турбины
Турбины обычно питаются газом или паром, и они используются для приведения в действие насосов, компрессоров, вентиляторов и другого технического оборудования нефтепереработки. Пар входит в турбины при высоких температурах и давлениях, расширяясь поперек и приводя в действие вращающиеся лопасти, при этом направляясь фиксируемыми лопастями.
Паровые турбины, используемые для вытяжной работы в вакууме, нуждаются в предохранительном клапане на стороне сброса для защиты и сохранения пара в случае нарушения вакуума. Когда максимальное рабочее давление выше расчетного давления, паровые турбины нуждаются в устройствах сброса. Нужно уделить внимание обеспечению регуляторов и приборов контроля над превышением скорости на турбинах.
Насосы, трубопровод и клапаны
Центробежные насосы и насосы с положительным смещением (поршневые) используется для перемещения углеводородов, технической воды, противопожарной воды и сточных вод на нефтеперерабатывающем заводе. Насосы приводятся в действие электродвигателями, паровыми турбинами или двигателями внутреннего сгорания.
Технические системы и системы трубопроводов коммунальных служб разносят углеводороды, пар, воду и другие продукты по сооружению. Они имеют размеры и построены из материалов, зависящих от типа службы, давления, температуры и природы продуктов. Имеется вентиль, водоотвод и типовые соединения на трубопроводе, а также обеспечивается тушение пожара. Используются различные типы клапанов, включая запорные клапаны, обходные клапаны, проходные запорные вентили и шаровые клапаны, конусные затворы, блокирующие и выпускные клапаны и контрольные клапаны, в зависимости от их рабочего назначения. Эти клапаны могут работать вручную или автоматически.
Клапаны и контрольно-измерительная аппаратура, которые требуют обслуживания или другой работы, должны быть доступны на уровне грунта или с работающей платформы. Дистанционно управляемые клапаны, противопожарные клапаны и стопорные клапаны могут использоваться для ограничения потерь продукта на приемных линиях в случае утечки или пожара. Соединения работающих выпускных отверстий и дренажа могут быть снабжены двойными блокирующими клапанами или пробкой или заглушкой для защиты от выбросов. В зависимости от продукта и обслуживания, может быть необходимо предотвращение обратного потока из линии сброса. Может быть предусмотрено расширение, передвижение и изменения температуры трубопровода во избежания разрыва. Насосы, работающие с уменьшенным потоком или в его отсутствие, могут перегреваться и разрушаться. Выход из строя автоматических контрольных приборов насоса может привести к отклонениям давления и температуры процесса. Должен быть предусмотрен сброс давления в трубопроводе сброса, где насосы могут иметь аномально высокое давление.
Хранение в резервуаре
Сосуды хранения при атмосферном давлении и повышенном давлении используются при нефтепереработке для хранения сырой нефти, промежуточных углеводородов (тех, которые используются для изготовления) и конечных продуктов (жидкости и газа). Предусматриваются также резервуары для противопожарной воды, технической воды и воды обработки, кислот, воздуха и водорода, добавок и другие химических веществ. Тип, конструкция, емкость и местоположение резервуаров зависит от его использования и характера, давления пара, температур вспышки и температур текучести хранимых материалов. Многие типы резервуаров используются при нефтепереработке, при этом самые простые являются наземным, а резервуары с конусообразной крышей используются для хранения горючих (нелетучих) жидкостей, таких как дизельное топливо, мазут и смазочные материалы. Открытые наверху и закрытые (внутренние) резервуары с плавающей крышей, в которых хранят воспламеняющиеся (летучие) жидкости, такие как бензин и сырая нефть, ограничивают пространство между верхней частью продукта и крышей резервуара для поддержания атмосферы, обогащенной паром, с целью воспрепятствования возгоранию.
Существует потенциальная возможность пожара, если резервуары хранения углеводорода переполнены, или если развиваются утечки, которые позволяют жидкости и парам вытекать и достигать источников возгорания. Нефтеперерабатывающие заводы должны разработать процедуры ручных измерений и получения продуктов для контроля над переполнением или обеспечить автоматический контроль над водосливом и системы сигнализации на резервуарах. Резервуары могут быть оборудованы стационарными или полустационарными системами защиты от пожара с помощью пенной воды. Дистанционно управляемые клапаны, запорные и противопожарные клапаны могут быть предусмотрены на резервуарах для откачивания или закрытия в случае пожара внутри резервуара или внутри вала вокруг резервуара или площади хранения. Программы вентилирования резервуара, очистки и входа в замкнутое пространство используется для контроля работы внутри резервуаров, а системы разрешений для проведения горячих работ используются для контроля над источниками возгорания внутри и вокруг резервуаров хранения.
Обработка, отгрузка и транспортировка
Загрузка газообразных и жидких углеводородов в трубопроводы, вагон-цистерны, автоцистерны и судовые сосуды и баржи для транспортировки к терминалам и потребителям — заключительная операция нефтеперерабатывающего завода. Характеристики продукта, потребности распространения, требования к отгрузке, меры по предотвращению пожара, защита окружающей среды и критерии работы имеют важное значение при проектировании судовых доков, наливных эстакад и коллекторов трубопровода. Рабочие процедуры должны быть установлены и согласованы между грузоотправителем и получателем, и должна поддерживаться связь во время перемещения продукта. Автоцистерны и железнодорожные вагон-цистерны могут загружаться как сверху, так и снизу. Загрузка и разгрузка сжиженного нефтяного газа требует специального внимания по сравнению с загрузкой и разгрузкой жидких углеводородов. На наливных эстакадах и судовых доках, где требуется, нужно предусмотреть системы восстановления пара.
Безопасные рабочие действия и соответствующие индивидуальные средства защиты могут потребоваться при погрузке или разгрузке, очистке разливов, или при контроле, инспекциях, взятии проб или выполнении технического обслуживания на погрузочных устройствах или системах восстановления пара. В случае аварийной ситуации, такой как переполнение отсека автоцистерны или вагон-цистерны, доставка должна быть остановлена или ее маршрут должен быть изменен.
Ряд различных опасных и ядовитых химических веществ используется на нефтеперерабатывающих заводах — от маленьких количеств испытательных реагентов, используемых в лабораториях, до больших количеств серной кислоты и фтористоводородных кислот, используемых при щелочной обработке. Эти химические вещества должны быть получены, храниться и с ними следует обращаться должным образом. Производители химических веществ обеспечивают информацию о безопасности материала, которая может использоваться нефтеперерабатывающими заводами для разработки процедур безопасности, технического контроля, требований защиты персонала и процедур реагирования в случае аварийной ситуации при обращении с химическими веществами.
Характер опасности у загрузочных и разгрузочных средств зависит от загружаемых продуктов и продуктов, от ранее транспортируемых в вагон-цистерне, автоцистерне или судовом резервуаре. Сцепление выравнивает электрическую нагрузку между наливной эстакадой и автоцистерной или вагон-цистерной. Заземление предотвращает появление блуждающих паразитных токов в автомобильных и железнодорожных загрузочных устройствах. Изолирующие фланцы используется на соединениях трубопровода судового дока с целью предотвращения накапливания и разрядов статического электричества. Огнегасители устанавливаются на наливной эстакаде и судовых линиях восстановления пара с целью предотвращения обратного зажигания. Когда разрешается переключающая загрузка, следует выработать безопасные процедуры и им следовать.
В случае утечек или переполнения автоматические или ручные системы выключения на коллекторах подачи должны быть предусмотрены на наливных эстакадах и судовых доках с загрузкой вверху и внизу. Защита против падения, такая как ручные рельсы, может быть необходима для доков и наливных эстакад, заполняемых сверху. На наливных эстакадах можно обеспечить дренажные системы и системы восстановления на случай штормового дренажа, в доках и для обработки разливов и утечек. Необходимо соблюдать меры предосторожности в устройствах, наполняемых сжиженными нефтяными газами с тем, чтобы не перегрузить или не превысить давление вагон-цистерн и автоцистерн.
Действия и средства по поддержке нефтепереработки
Ряд различных средств, действий и программ, каждое из которых имеет свои собственные требования к безопасности и здоровью, необходимы для поддержки процесса нефтепереработки, в зависимости от местоположения нефтеперерабатывающего завода и доступных ресурсов.
Административные действия
Широкое многообразие административных действий поддержки, в зависимости от основных принципов нефтеперерабатывающей компании и наличия коммунальных служб, требуется для обеспечения непрерывного функционирования нефтеперерабатывающего завода. Функция, которая контролирует движение нефти к, внутри и от нефтеперерабатывающего завода, является уникальной функцией нефтепереработки. Административные функции могут быть разбиты следующим образом. Ежедневная работа технических устройств — функция операций. Другая функция отвечает за то, чтобы были сделаны все распоряжения для непрерывной поставки сырой нефти. Другие функциональные действия включают медицинские услуги (как на случай аварийной ситуации, так постоянная забота о здоровье), продовольственные услуги, техническое обслуживание, обслуживания зданий и сооружений и установившиеся административные и управленческие функции, общие для большинства отраслей промышленности, такие как бухгалтерский учет, закупки, человеческие отношения и так далее. Функция обучения нефтепереработки отвечает за квалификацию инспекторов и служащих и за обучение мастерству, включая начальное обучение, повышение квалификации и корректирующее обучение, и для ориентации служащего и подрядчика и обучение в случае реагирования в аварийной ситуации и безопасные действия и процедуры на работе.
Конструкция и техническое обслуживание
Непрерывная безопасная работа нефтеперерабатывающих заводов зависит от разработки и выполнения программ и процедур регулярного технического обслуживания и профилактического обслуживания, и обеспечения замены, когда это необходимо. Операции цикла опорожнения-закачивания-отбора, которые на всем нефтеперерабатывающем заводе или на отдельных технических установках будут прекращены на время капитального ремонта и замены оборудования, являются разновидностью программы профилактического технического обслуживания, уникальной для отрасли процесса. Механические действия по поддержанию целостности системы, такие как осмотры, ремонт, испытания и сертификация клапанов и приборов сброса давления, которые являются частью программы управления безопасностью процесса, являются важными для непрерывной безопасной работы нефтеперерабатывающего завода, как и заказы на работу по техническому обслуживанию для непрерывной эффективности программы нефтеперерабатывающего завода “управление переменами”. Программы лицензирования работ контролируют горячие работы и работы по обеспечению безопасности, такие как изоляция и блокировка, вход в замкнутые пространства. Цеха технического обслуживания и контрольных измерений имеет цели, которые включают следующее:
Тонкая и точная работа по проверке, техническому обслуживанию и калибровке контрольных приборов процессов нефтепереработки, инструментов и компьютеров
Сварка
Ремонт и капитальный ремонт оборудования
Обслуживание транспортных средств
Деревообрабатывающее производство и так далее.
Меры безопасности и гигиены конструкции и технического обслуживания полагаются на некоторых из следующих программ.
Изоляция
Безопасное обслуживание, ремонт и замена оборудования внутри технических установок часто требует изоляции резервуаров, сосудов и линий с целью предотвращения возможностей поступления воспламеняющихся жидкостей или паров в области, где выполняются горячие работы. Изоляция обычно достигается путем разъединения и огораживания всех трубопроводов, ведущих к или от резервуара; облицовка или перекрытие трубы при соединении около сосуда или резервуара; или закрытие двойных блокирующих клапанов на трубопроводе, если есть, и открытии выпускного клапана между двумя закрытыми клапанами.
Блокировка/закрытие
Программы блокировки и закрытия предотвращает неадекватную активизацию электрического, механического, гидравлического или пневматического оборудования во время ремонта или технического обслуживания. Все электрическое оборудование должно иметь свой рубильник сети или главный выключатель, блокируемый или закрываемый и проверяемый для того, чтобы обеспечить выключение оборудования до начала работы. Механическое гидравлическое и пневматическое оборудование должно быть выключено и иметь свой источник питания, заблокированный до начала работы. Линии, закрываемые с помощью клапанов, на которых работают или которые изолируются, должны также быть заблокированы или выключены с целью предотвращения несанкционированного открытия.
Металловедение и диагностика
Металловедение и диагностика используются для обеспечения непрерывной прочности и целостности линий, сосудов, резервуаров и реакторов, которые подвержены коррозии из-за кислот, коррозионных агентов, сернистой воды, газов и других химических веществ, создаваемых и используемых при производстве сырой нефти. Неразрушающие тестовые методы используются на нефтеперерабатывающем заводе для обнаружения чрезмерной коррозии и износа до того, как произойдет поломка. Требуются должные меры предосторожности для предотвращения чрезмерных воздействий на рабочих, которые имеют дело или подвергаются воздействию радиоактивного тестового оборудования, красителей и химических веществ.
Склады
На складах хранятся не только части, материалы и оборудование, необходимые для непрерывной работы нефтеперерабатывающего завода, но также и упакованные химические вещества и добавки, которые используются при техническом обслуживании, производстве и смешивании. На складах могут также хранить персональную защитную одежду и оборудование, включая каски, перчатки, фартуки, защиту для глаз и лица, защиту органов дыхания, безопасную и непроницаемую обувь, огнестойкую одежду и одежду для защиты от кислоты. Требуется правильно и раздельно хранить воспламеняющиеся и горючие жидкости и опасные химические вещества с целью предотвращения разливов, пожаров и смешивания несовместимых продуктов.
Лаборатории
Лаборатории несут ответственность за определение показателей и консистенции сырой нефти до изготовления, а также за выполнение испытаний, требуемых для контроля качества конечного продукта. Лабораторный персонал должен быть обучен на предмет распознавания опасностей, присущих обработке и смешиванию ядовитых химических веществ и воспламеняющихся жидкостей, и должен обеспечить защиту для себя и других.
Безопасность и гигиена окружающей среды и труда
Другие важные действия поддержки работы нефтеперерабатывающего завода — безопасность, профилактика и защита от пожаров, защита окружающей среды и гигиена труда. Они могут быть предусмотрены как отдельные функции, так интегрированы в операции нефтеперерабатывающего завода. Безопасность, готовность к аварии, реагирование и деятельность по профилактике и защите от пожара часто являются ответственностью той же самой функции внутри нефтеперерабатывающего завода.
Функция безопасности участвует в программах управления безопасностью процесса как часть команд осмотра проекта, осмотра перед строительством и во время его и осмотра перед запуском. Функция безопасности часто помогает в процессе оценки подрядчика, инспектирует действия подрядчика и исследует инциденты с участием наемных работников и подрядчиков. Персонал по безопасности может быть ответственен за надзор за деятельностью, требующей разрешений, такой как вход в замкнутые пространства и огневые работы, и за проверку наличия и готовности переносных огнетушителей, средств дезактивации, душей безопасности, станций промывки глаз, стационарных устройств обнаружения и тревоги и автономных дыхательных аппаратов на случай аварийной ситуации, размещаемых в стратегических местах на случай выбросов отравляющего газа.
Программы безопасности. Функция безопасности нефтепереработки обычно отвечает за разработку и управление различными программами безопасности и предотвращения инцидентов, включая (но не ограничиваясь) следующее:
Осмотры расчетной конструкции и предстартовой безопасности
Исследований аварий, инцидентов и условий, которые чуть не привели к аварии, и отчеты о них
Планы подготовки на случай аварийной ситуации и программы реагирования
Программа безопасности подрядчика
Практика и процедуры безопасной работы
Блокировка/выключение
Вход в замкнутое пространство и зону нечувствительности
Возведение строительных лесов
Программы электрической безопасности, заземление оборудования и защита от коротких замыканий
Защита механизмов
Предупредительные знаки и надписи
Системы получения разрешений на проведение огневых работ, безопасной работы и входа в замкнутые пространства.
Пожарные команды. Пожарные команды нефтеперерабатывающего завода и те, кто принимает участие в тушении пожаров, могут быть членами пожарной команды; отобранными наемными работниками нефтеперерабатывающего завода, такими как операторы и технический персонал, которые обучены и назначены для реагирования в дополнение к их обычным обязанностям; или те и другие. Помимо пожаров бригады традиционно отвечают на другие инциденты на нефтеперерабатывающем заводе, такие как выбросы кислоты или газа, спасение из сосудов или резервуаров, утечки и так далее. Функция защиты от пожара может отвечать за инспектирование и тестирование противопожарных датчиков и сигналов, и за стационарные и портативные системы защиты от пожара и оборудование, включая пожарные машины, пожарные насосы, пожарные водоводы, пожарные гидранты, шланги и выпускные каналы.
Тушение пожара на нефтеперерабатывающем заводе отличается от тушения обычного пожара, потому что часто предпочитают позволить некоторым пожарам догореть, нежели их тушить. Кроме того, каждый тип углеводородной жидкости, газа и пара имеет уникальные химические характеристики, которые должны быть полностью поняты для лучшего тушения пожара. Например, тушение пожара углеводородного пара без первоначальной остановки выбросов пара только создаст непрерывное облако парового газа с вероятностью повторного возгорания и взрыва. Пожары в резервуарах, содержащих сырую нефть и тяжелые остатки, должны тушиться с помощью применения специальных методов тушения во избежание возможности взрыва или вскипания резервуара.
Углеводородные пожары часто тушатся путем остановки потока продукта или, позволяя пожару выгореть, при этом охлаждающая вода подается к соседнему защитному оборудованию, резервуарам и сосудам, подвергшимся воздействию тепла. Многие стационарные системы защиты от пожара разработаны с этой конкретной целью. Борьба с пожарами в технических установках под давлением требует специального внимания и обучения, особенно, когда участвуют такие катализаторы, как фтористоводородная кислота. Специальные химические вещества для борьбы с огнем, такие как сухой порошок и растворы пенистой воды, могут использоваться для тушения углеводородных пожаров и эмиссии контрольного пара.
Готовность на случай аварийной ситуации. Нефтеперерабатывающие заводы должны разрабатывать и внедрять планы реагирования на случай аварийной ситуации для ряда различных потенциальных ситуаций, включая взрывы, пожары, выбросы и оказание помощи. Планы на случай аварийной ситуации должны включить использование внешней помощи, включая подрядчиков, правительственную и взаимную помощь, а также специальные поставки и оборудование, такие как пена для тушения пожара и сдерживание распространения утечек и адсорбционные материалы.
Газовые и паровые испытания
Контроль, взятие проб и испытания газа, частиц и пара на нефтеперерабатывающих заводах проводятся для обеспечения безопасной работы и управления процессами без ядовитых или опасных воздействий, взрывов или пожаров. Атмосферные испытания проводятся с помощью ряда инструментов и методов по измерению содержания кислорода, углеводородные паров и газов и определения опасных и ядовитых уровней воздействия. Инструменты должны быть должным образом откалиброваны и отрегулированы до использования квалифицированными людьми с целью обеспечения надежных и точных измерений. В зависимости от места работы, потенциальных опасностей и вида выполняемой работы, испытания, взятие проб и контроль могут быть осуществлены до начала работы или в указанные интервалы во время работы или непрерывно в ходе работы.
При установлении процедур нефтепереработки взятие проб и проведения испытаний воспламеняющихся, инертных и ядовитых атмосфер, использование индивидуальных средств защиты, включая соответствующую защиту органов дыхания, должно учитываться. Должно быть отмечено, что респираторы в виде фильтров не подходят для атмосфер, обедненных кислородом. Требования к испытаниям должны зависеть от степени опасности, которая возникает в случае поломки инструмента.
Проверка следующих веществ может быть осуществлена с помощью портативного оборудования или стационарной аппаратуры:
Кислород. Измерители горючих газов работают путем сжигания небольшого пробного объема проверяемой атмосферы. Чтобы получить точное показание горючего газа, минимум 10 % и максимум 25 % кислорода должны присутствовать в атмосфере. Количество кислорода, присутствующего в атмосфере, определяется путем использования измерителя кислорода до или одновременно с использованием измерителя горючего газа. Проверка на кислород очень важна при работе в ограниченных или замкнутых пространствах, так как вход без защиты органов дыхания (при условии, что нет никаких ядовитых воздействий) требует нормальных концентраций кислорода в воздухе для дыхания (приблизительно 21 %). Измерители кислорода также используются для измерения количества кислорода, присутствующего в зонах нечувствительности, для того, чтобы убедиться, что кислород не присутствует в достаточном количестве для поддержания горения во время горячих работ или других действий.
Углеводородные пары и газы. “Огневая работа” — работа, которая создает источник возгорания, такая как сварка, резка, шлифовка, пескоструйная очистка, работа двигателя внутреннего сгорания и так далее, на площадях, где существует потенциальная возможность воздействия воспламеняющихся паров и газов. Для безопасного проведения огневых работ, используются контрольно-измерительные приборы, известные как измерители горючих газов для проверки атмосферы на углеводородные пары. Углеводородные пары или газы будут гореть только при смешивании с воздухом (кислородом) в определенных пропорциях и в случае возгорания. Если нет достаточного количества паров в воздухе, говорят, что смесь «слишком бедна, чтобы гореть», а если имеются слишком много пара (слишком небольшое количество кислорода), смесь «слишком богата, чтобы гореть». Ограничивающие соотношения называются верхним и нижним пределами воспламенения и выражаются как процент от объема пара в воздухе. Каждая углеводородная молекула или смесь имеет различные пределы воспламеняемости, обычно от приблизительно 1 до 10 % паров в воздухе. Пар бензина, например, имеет нижний предел воспламенения в 1,4 % и верхний предел в 7,6 процентов.
Ядовитые атмосферы. Используются специальные контрольно-измерительные приборы для измерения уровней ядовитых и опасных газов, паров и частиц, которые могут присутствовать в атмосфере, где работают люди. Эти измерения используются для определения уровня и типа необходимой защиты, которые могут меняться от полной вентиляции и замены атмосферы до использования дыхательных и персональных индивидуальных средств защиты людьми, работающими в этих местах. Примеры опасных и ядовитых воздействий, которые могут иметь место на нефтеперерабатывающих заводах, включают асбест, бензол, сероводород, хлор, двуокись углерода, серную и фтористоводородную кислоты, амины, фенол и другие.
Программы здоровья и безопасности
Основа гигиены труда нефтеперерабатывающего завода — программа административного и технического контроля, охватывающая воздействия на помещения, где хранятся ядовитые и опасные химические вещества, лабораторную безопасность и гигиену, эргономику и медицинское наблюдение.
Регулятивный орган и компании устанавливают ограничения воздействий для различных ядовитых и опасных химических веществ. Функция гигиены труда осуществляет контроль и взятие проб для измерения воздействий на наемного работника опасных и ядовитых химикатов и веществ. Промышленные гигиенисты могут разрабатывать или рекомендовать технические приборы контроля, профилактические рабочие процедуры, замену продуктов, персональную защитную одежду и оборудование или альтернативные меры защиты или уменьшения воздействий.
Медицинские программы. Нефтеперерабатывающие заводы обычно требуют предварительной замены и периодических медицинских обследований с целью определения способностей наемного работника к первоначальному и последующему выполнению работ и гарантии, чтобы требования непрерывной работы и вытекающие воздействия не подвергли бы опасности здоровье или безопасность наемных работников.
Персональная защита. Программы персональной защиты должны охватывать обычные воздействия при нефтепереработке, такие как шум, асбест, изоляция, опасные отходы, сероводород, бензол и химические вещества, включая щелочи, фтористоводородное соединение, серную кислоту и так далее. Гигиена труда может обозначать соответствующее индивидуальное защитное оборудование, которое должно использоваться в случае различных воздействий, включая респираторы с разрежением и респираторы, снабжаемые воздухом, и защиту ушей, глаз и кожи.
Безопасность продукта. Понимание безопасности продукта охватывает знание об опасностях химических веществ и материалов, потенциальная возможность воздействия которых существует на рабочем месте, и какие действия следует предпринять в случае, если происходит воздействия через пищеварение, вдыхание или контакт с кожей. Проводятся токсикологические исследования сырой нефти, потоков нефтепереработки, технических химикатов, конечных продуктов и предложенных новых продуктов с целью определения потенциальных результатов воздействий на наемных работников и на потребителей. Эти данные используются для разработки информации о здоровье, касающейся допустимых пределов воздействий или допустимых количеств опасных материалов в продуктах. Эта информация обычно распространяется с помощью листов данных о безопасности материала (MSDS) или подобных документов, а наемные работники обучаются или получают знания об опасностях материалов на рабочем месте.
Защита окружающей среды
Защита окружающей среды занимает важное место в операциях нефтепереработки вследствие требований соответствия и потребностей экономии, так как цены и себестоимость нефти растет. Нефтеперерабатывающие заводы производят многочисленные выбросы воздуха и воды, которые могут быть опасны для окружающей среды. Некоторые из них — загрязнители, находящиеся в исходной сырой нефти, в то время как другие — результат процессов и операций нефтепереработки. Воздушные выбросы включают сероводород, двуокись серы, окиси азота и угарный газ (см. Таблицу 78.2). Сточные воды обычно содержат углеводороды, растворенные материалы, взвешенные твердые вещества, фенолы, аммиак, сульфиды, кислоты, щелочи и другие загрязнители. Также существует риск случайных утечек разнообразных воспламеняющихся и/или ядовитых химических веществ.
Меры контроля, установленные для ограничения выбросов жидкости и пара и уменьшения производственных расходов, включают следующее:
Экономия энергии. Меры контроля включают контроль над утечкой пара и программы восстановления конденсата с целью сохранения энергии и увеличения эффективности.
Загрязнение воды. Меры контроля включают обработку сточных вод в сепараторах Американского нефтяного института и последующие средства обработки, сбор ливневой воды, программы накопления и обработки, ограничения и контроля над предотвращением утечек.
Загрязнение воздуха. Так как нефтеперерабатывающие заводы работают непрерывно, обнаружение утечек, особенно в соединениях клапанов и труб, имеет важное значение. Меры контроля включают уменьшение выпусков и выбросов пара углеводорода в атмосферу, программы герметичности клапанов и крепежей нефтеперерабатывающего завода, программы герметизации резервуаров с плавающей крыши и ограничения распространения пара, и восстановление пара для загрузочных и разгрузочных средств и для вентилирования резервуаров и сосудов.
Загрязнение земли. Предотвращение утечек нефти из загрязненной почвы и загрязненных грунтовых вод осуществляется путем обвалования резервуаров и обеспечения дренажа для определенных, защищенных замкнутых площадей. Загрязнение вследствие утечки внутри площади, окруженной валом, может быть предотвращено путем применения вторичных мер ограничения, таких как непроницаемые пластиковые или глиняные обкладки вала резервуара.
Реагирование на утечки. Нефтеперерабатывающие заводы должны разрабатывать и внедрять программы с целью реагирования на утечки сырой нефти, химических веществ и конечных продуктов, как на земле, так и на воде. Эти программы могут полагаться на обученных наемных работников или внешние агентства и подрядчиков с целью реагирования в случае аварийной ситуации. Тип, требуемое количество и наличие поставок и оборудования для очистки разливов и восстановления, на месте или по требованию, должно быть включено в план готовности на случай аварии.